МЕХАНИЗАЦИЯ ПОСЛЕУБОРОЧНОЙ ОБРАБОТКИ ЛЬНЯНОГО ВОРОХА 
И СЕМЯН ЛЬНА

Сушка льняного вороха

      Сушить ворох, получаемый при уборке льна-долгунца льнокомбайнами, можно в естественных условиях на островьях или стеллажах под навесом. Но эти приемы естественной сушки зависят от погодных условий, требуют больших затрат труда, материалов и средств на постройку этих сооружений, не гарантируют получения доброкачественных семян в сырые годы и не могут быть механизированы.
      Для сушки льняного вороха можно использовать сушилку ССЛ-ВИСХОМ, но она малопроизводительна и не обеспечивает сушку вороха, получаемого даже от одного льнокомбайна при хорошей его работе.
      В настоящее время во ВНИИЛ разработаны способы сушки льняного вороха активным вентилированием неподогретым и подогретым воздухом, а также сушка зрелых льноголовок на барабанной сушилке.
      Характеристика льняного вороха. Льняной ворох, полученный на льнокомбайнах, представляет собой малосыпучую смесь, неоднородную по спелости, составу и влажности.
      В зависимости от условий созревания коробочки распределяются по цвету примерно в следующем процентном соотношении: зеленые—11—29%, желтые — 41—49, бурые —24—41%.
      Семена из зеленых и частично желтых коробочек хотя и жизнеспособны, но обычно имеют низкую энергию прорастания и всхожесть и большую разницу между энергией прорастания и всхожестью. Семена должны пройти послеуборочное дозревание и сушку.
      При естественной сушке дозревание их происходит по мере удаления влаги и при нормальных погодных условиях заканчивается в течение 15 суток, а в дождливую погоду затягивается на 1—2 месяца. Пониженная среднесуточная температура (12—13°) задерживает дозревание и приводит к снижению всхожести семян.
      Льняной ворох при уборке льна льнокомбайнами в ранней желтой и желтой спелости состоит по весу (в %): семенные коробочки — 52—84, свободные семена — 2—7, путанина, сорняки и другие примеси—12—46. Влажность его в начале уборки 40—60% (средняя 45%) и распределяется по основным компонентам следующим образом (в %): коробочек 40—50, семян 25—27, сорняков 70—80, путанины 60—65. К концу уборочного периода она может быть 30—35%.
      В путанине, отделенной от основной массы вороха, содержится от 6 до 22% (в среднем 12%) общего количества семян.
      Сырой льняной ворох отличается высокой интенсивностью дыхания, при этом выделяется тепло и происходит самосогревание вороха. Температура его при влажности 36—52% за сутки повышается на 22—26° и с этого момента начинает увеличиваться зараженность семян льна паразитами и сапрофитами. Самосогревание вороха сопровождается потерей веса семян.
      Агротехнические требования к сушке вороха. Сушка льняного вороха неподогретым воздухом должна обеспечить снижение влажности до 15%, а подогретым воздухом до 12—13%. Допустимая неравномерность сушки± ±2%. Не допускается снижение всхожести семян более чем на 2% в сравнении с сушкой льняного вороха на стеллажах под навесом (слой 5—7 см) при ежедневном перемешивании вороха.
      Сушить льняной ворох свежеубранного льна ранней желтой спелости в сушилках лоткового типа и установках для активного вентилирования подогретым воздухом можно при температуре теплоносителя не выше 45°. Семена при этом не снижают всхожести.
      Если коробочки предварительно подсушены в естественных условиях, то их можно досушить при температуре до 50°.
      Сушка льняного вороха активным вентилированием неподогретым воздухом. Установки для активного вентилирования состоят из вентилятора с электромотором и воздухораспределительной системы. Наиболее целесообразно использовать установки двух типов: 1) с главным каналом и боковыми воздуховодами и 2) с решетчатым полом.
      В обоих типах установок главный канал служит для подвода воздуха к решетчатому полу или к боковым воздуховодам без значительного падения давления. Распределение воздуха по всей площади установки происходит через решетчатый пол или боковые воздуховоды. Льняной ворох укладывают на воздухораспределительную систему горизонтальными слоями. Воздух вентилятором низкого давления нагнетается в главный канал, поступает под решетку или в боковые воздуховоды, равномерно распределяется по всей площади установки и, проходя сквозь льняной ворох, насыщается влагой и уносит ее, тем самым обеспечивая сушку и предотвращая самосогревание.
      Установки для активного вентилирования неподогретым воздухом располагаются в помещении, не загроможденном большим количеством столбов (рис. 69). 

Рис. 69. Расположение установок в шохе.

     Ширина помещения желательна не менее 9 м. Пол может быть земляной утрамбованный, глинобитный, асфальтовый, из досок, покрытых толем или картоном. Главное требование к нему — выровненность, плотность, водо- и воздухонепроницаемость, чтобы не было утечки воздуха через пол. Стенки вокруг установки высотой 1,1—1,3 м также обиваются толем или картоном.
      Расположение вентиляторов может быть любым, но лучше, чтобы входные окна их размещались со стороны господствующих ветров. Надо избегать возврата отработанного воздуха в вентиляторы.
      Установка УДС-300 (рис. 70) конструкции ВИСХОМ выпускается промышленностью для досушки сена. Ее с успехом можно использовать на сушке льняного вороха.

Рис. 70. Установка УДС-300 с металлической воздухораспределительной системой, 
используемая на сушке льняного вороха:
1 - вентилятор; 2 - электроподогреватель; 3 - воздухопроницаемая стенка; 
4 - центральный канал; 5 - решетка стенки; 6 - боковой трубопровод

      Она состоит из двух металлических воздухораспределительных систем и осевого вентилятора низкого давления МЦ-8 с числом оборотов 1450 в минуту. Производительность вентилятора 20 000 куб. м/час при давлении 28 мм водяного столба; электродвигатель 4,5 квт. Каждый центральный канал монтируется из семи одинаковых секций полукруглой формы, сечением 780х780 мм и конического соединительного патрубка длиной 770 мм. Длина каждой секции 940 мм. Торец последней секции сделан глухим. Секции между собой соединяются посредством рифлей и стяжек. В стенках секций центрального канала сделаны окна (сечением 300х280 мм) с короткими патрубками для соединения с боковыми трубопроводами.
      Каждый боковой трубопровод состоит из двух секций длиной 1340 мм каждая. Секции между собой соединены посредством рифлей.
      На боковых поверхностях центрального и боковых каналов сделаны жалюзи для выхода воздуха. Для этих же целей между стенкой боковых воздуховодов и полом есть щель шириной 10 мм, которая образуется благодаря тому, что опорные скобы боковых каналов выступают за их стенки. Конический соединительный патрубок прикреплен гвоздями к деревянной стенке, в которой имеется отверстие диаметром 810 мм для подачи воздуха от вентилятора.
      Установка с решетчатым полом. При отсутствии установки УДС-300 можно изготовить на месте установку из пиломатериалов (рис. 71). Для этого используют дюймовые доски. Стенки, пол и потолок главного канала должны быть воздухонепроницаемыми, с этой целью они обиваются толем, картоном. Для каркаса стен главного канала используют брусья сечением 5х10 см. Они служат местом крепления брусьев решетчатого пола и планок, перекрывающих щели в потолке канала. Расстояние между брусьями главного канала 0,6 м. В потолке должны быть щели шириной 40 мм, прикрывающиеся планками 5x15 см, прибитыми над досками потолка.

Рис. 71. Установка с решетчатым полом:
1 — осевой вентилятор с электромотором 4,5 квт; 2 — диффузор; 3— воздухонепроницаемая стенка; 4 — дополнительная решетка стенки; 5 —обвязка; 6 —сетка 5X5 мм; 7 — главный канал; 8 — бруски, закрывающие проходы для воздуха в главном канале; 9 — решетчатый пол; 10 — брусья каркаса главного канала; 11 — брусья, поставленные на ребро, образуют проходы.

      Площадь проходов из главного канала к решетчатому полу зависит от количества воздуха, подаваемого вентилятором, и от допустимой скорости воздуха. Скорость воздуха в проходах не должна превышать 5— 7 м/сек. При расчетах площади проходов в решетчатом полу можно принять, что 80% воздуха проходит через них, а 20% через щели в потолке главного канала. Например, если вентилятор дает воздуха 20 000 куб. м/час, то площадь поперечного сечения главного канала должна быть 1,1 кв. м, а высота и ширина по 1,05 м. Высота боковых проходов под решеткой при длине главного канала 5 м — 12 см; 6 м — 10 см; 7 м — 9 см; 8 м — 7 см. По мере удаления от вентилятора высота главного канала уменьшается и в конце канала составляет 35—40 см.
      Решетчатый пол состоит из брусьев толщиной б см, поставленных на ребро, и реек сечением 3,1—7,5 см. Рейки расположены на расстоянии 7,5 см одна от другой. Щели должны занимать не меньше половины поверхности пола.
      Лучше делать решетчатый пол из легких съемных секций длиной 1,8 м и шириной не более 1,5 м. Это облегчает очистку от мусора, который постепенно накапливается под решеткой.
      Решетчатый пол покрывается тканой сеткой с размерами ячеек 5x5 мм, чтобы сквозь решетку не проваливались коробочки.
      Загрузка установок. За один прием в установку загружают ворох ровным слоем толщиной не более 40 см, без куч и уплотнений в отдельных местах, так как где слой вороха толще и плотнее, там будет слабее поток воздуха. На третий, а также на шестой и девятый день еще загружают слой вороха в эту же установку.
      Три воздухораспределительные установки обеспечивают бесперебойную работу льнокомбайна, то есть на них можно высушить ворох с площади 40—45. га за сезон.
      Режим сушки льняного вороха неподогретым воздухом. Вентилятор включается, как только уложен ворох по всей площади установки, и первые двое суток после каждой загрузки работает беспрерывно. В последующие дни вентилятор включают в 7—8 часов утра и выключают в 8—9 часов вечера, то есть он работает примерно 10—12 часов в день.
      При небольших и непродолжительных дождях вентиляторы можно не выключать. В дождливые и пасмурные дни вентиляторы включают периодически для предотвращения самосогревания вороха. Единичные перебои с подачей электроэнергии на 15—20 часов не опасны.
      Продолжительность сушки вороха в установках может быть 2—3 недели.
      Если по окончании сушки нет возможности для перетирания вороха, его в установке следует периодически продувать и, если при продувке выходит теплый воздух, увеличивать ее длительность. Постоянного наблюдения за работой установки не требуют.
      Расход электроэнергии при их работе 84,5 квт ч на 1 т сырого вороха.

Рис. 72. Сушка вороха на сушильном пункте:
1 — сушильное отделение; 2 — воздухоподогреватель ВПТ-400; 
3— воздухораспределитель с заслонкой; 4 — вентилятор УДС-300; 
5 — воздухораспределительная система.

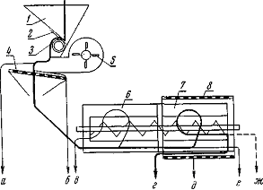
      Сушка льняного вороха подогретым воздухом. На основе технологии сушки льняного вороха подогретым воздухом, разработанной во ВНИИЛ, проектный институт «Белгипросельстрой» разработал типовой проект № 8—04—274 «Пункт сушки и переработки льняного вороха и льноголовок». Схема пункта показана на рисунках 72, 75.
      Разработанная технология обеспечивает сушку льняного вороха с получением семян кондиционной влажности без снижения их посевных качеств.
      Для сушки льняного вороха активным вентилированием подогретым воздухом используются воздухоподогреватели ВП-300 и ВПТ-400 (рис. 73), работающие на жидком топливе, и воздухораспределительные установки УДС-300.
      Температура подогрева воздуха и расход топлива в воздухоподогревателе регулируется изменением давления топлива и сменой сопел форсунок. Воздухоподогреватели имеют системы контроля факела и температуры. Система подачи топлива обеспечивает его очистку, нагнетание и распыление форсункой, а также поддержание давления, которое контролируется по манометру. Для воспламенения топлива служит свеча.

      Для удобства работы, чтобы периодически не менять местами вентилятор и воздухоподогреватель, центральные каналы воздухораспределительных систем устанавливают под навесом на твердом полу в одну линию, а между ними — воздухораспределитель, с помощью которого переключаются системы на сушку подогретым или неподогретым воздухом.
      Воздухораспределитель (рис. 74) представляет собой собираемую на болтах коробку с четырьмя отверстиями: через одно отверстие подается подогретый воздух от воздухоподогревателя; через второе, расположенное напротив, — неподогретый воздух от вентилятора МЦ-8; два противоположных отверстия соединены с центральными каналами, через которые воздух подается в сушильные отделения. Внутри воздухораспределителя находится заслонка.

Рис. 74. Воздухораспределитель:
1 — коробка; 2 — стенка; 3 — крышка; 4 — дно; 5 —кронштейн; 6 — кольцо; 7 — рукоятка;
8 — ось; 9 — дроссель-клапан.

      Для сушки льняного вороха с убираемой площади 80—100 га достаточно иметь одну установку УДС-300 и один воздухоподогреватель ВПТ-400.
      Пункт для сушки вороха с площади 160—200 та оборудуется двумя установками УДС-300 и двумя воздухоподогревателями ВПТ-400 (рис. 75). В этом случае он размещается под навесом длиной 33 м и шириной 9 или 12 м.

Рис. 75. Схема пункта для сушки и переработки вороха с двумя воздухоподогревателями

      Спереди навеса делается выровненная и утрамбованная площадка (желательно асфальтированная) размером 10х33 м с небольшим уклоном наружу для стока воды.
      Воздухоподогреватели соединяются с воздухораспределителями металлическим воздуховодом диаметром 0,8 м (из листового железа) или брезентовым рукавом, пропитанным огнестойким составом (9%-ный водный раствор диаммонийфосфата и 6%-ный раствор сернокислого фосфата).
      Технологический процесс сушки вороха. Льняной ворох от льнокомбайнов подвозят на пункт в мешках и насыпью в автомашинах или тракторных тележках. На одну воздухораспределительную, систему загружают льняной ворох с площади уборки 8—12 га. Если коробочки без путанины, то в одно сушильное отделение можно загрузить ворох с площади до 20 га.
      Как только ворох закроет воздуховоды, включают воздухоподогреватели ВПТ-400 или ВП-300. По мере подвоза на пункт льняного вороха толщину слоя его в установке доводят до 1,2—1,3 м, а для вороха с влажностью меньше 45% —до 1,5 м.
      Температура контролируется термометром, установленным в начале главного канала установки.
      Процесс сушки при непрерывном вентилировании продолжается различное время, в зависимости от влажности вороха и его количества в установках, например при влажности вороха 40—45%—35—45 часов.
      Пока производится сушка, а затем переработка сухого вороха, высушенного на первой воздухораспределительной системе, ворох, прибывающий от льнокомбайнов, загружают на вторую воздухораспределительную систему, куда подается неподогретый воздух от вентилятора MЦ-8.
      Как только закончится сушка льняного вороха на первой воздухораспределительной системе, воздухоподогреватель переключают на вторую, а вентилятор для охлаждения вороха после сушки — на первую воздухораспределительную систему.
      По окончании сушки и охлаждения сухого вороха его перетирают на специально переоборудованном зерновом комбайне или ворохоразделочной машине. Такой цикл работы в течение сезона повторяется несколько раз.
      Семена льна отвозят на склад или на сортировку, мякину — на фермы для скармливания скоту, а путанину — для расстила и получения из нее короткого волокна.
      На пункте, оборудованном двумя установками УДС-300 (четыре сушильных отделения), сырой ворох загружают сначала в первое и третье отделения, а затем во второе и четвертое.
      Пропускная способность пункта во многом зависит от того, как быстро установки освобождаются от сухого вороха.
      Пункт сушки с двумя воздухоподогревателями при хорошей организации труда и бесперебойной их работе обеспечивает сушку льняного вороха с площади до 200 га от четырех одновременно работающих льнокомбайнов.
      При влажности вороха не более 45% и урожайности 3—4 ц семян с 1 га затраты труда на сушку 1 т сырого вороха составляют 1,1—2 человеко-часа, расход горючего 35—47 кг (для ВП-300), расход электроэнергии 22— 30 квт-ч, а прямые издержки 6,5—7,3 руб.
      В дождливые годы сушильный пункт можно использовать для досушки льняного вороха от льномолотилок, работающих только на очес. В этом случае сушка будет продолжаться не более 20 часов, и на установке с двумя воздухоподогревателями в двух отделениях можно высушить 18—22 т вороха в сутки. Сушильный пункт может обеспечить досушку вороха с площади 230—260 га за 10—12 дней при урожае 4 ц семян с 1 га.
      Прямые издержки на досушку льняного вороха с влажностью 25—30% при урожае семян 3—4 ц с 1 га составляют 3,3—4,5 руб., а затраты труда — 1 —1,3 человеко-часа на 1 т сырого вороха. Снижение потерь сортовых семян на 2,5%, а рядовых на 3,2% полностью покрывает издержки на сушку вороха. Фактически потери семян в сырые годы достигают 50%. Своевременный очес льна и сушка вороха позволят избежать больших потерь семян, сократить сроки обмолота льна и получить семена высокого качества и кондиционной влажности.
      В опытном хозяйстве ВНИИЛ и на Калининской МИС оборудование для активного вентилирования ежегодно с успехом применяется для сушки зерна и других сельскохозяйственных продуктов.
      При отсутствии установок УДС-300 можно использовать менее долговечные деревянные установки с решетчатым полом, которые необходимо покрыть огнезащитным составом, состоящим из известкового теста (74%), глины (4%), поваренной соли (11%), воды (11%). Более рациональны и долговечны сушильные пункты с установками УДС-300.
      Пункт сушки льняного вороха необходимо обеспечить противопожарным оборудованием и инвентарем по указанию местных органов пожарной охраны.
      Сушка семенных коробочек на барабанной сушилке. Барабанную зерносушилку СЗПБ-2,0 можно использовать на сушке семенных коробочек желтой и полной спелости, полученных как от льнокомбайнов, так и от простых льномолотилок. Продолжительность сушки 15 минут при 6 об/мин и угле наклона сушильного барабана -2,5°.
      Ворох семенных коробочек беспрепятственно проходит через сушильный барабан, если в нем нет обрывков стеблей длиной более 20 см. Для отделения крупной путанины от льняного вороха пригодны соломотрясы льномолотилок и зерновых комбайнов.
      Производительность барабанной сушилки на сушке коробочек желтой и полной спелости 600—700 кг/час сырой массы, съем влаги за один проход 6,4—11%, максимально допустимая температура теплоносителя на входе в сушильный барабан 125—135°, а температура нагрева коробочек 32—36°.
      Скорость теплоносителя в сушильном барабане не должна превышать 2,1 м/сек, чтобы не было выноса коробочек.
      Сушка льноголовок на барабанной сушилке снижает общую зараженность семян льна. Коробочки желтой и полной спелости после прохода через барабанную сушилку можно перетереть с выделением семян, которые затем досушиваются на этой же сушилке до кондиционной влажности.
      Выпуск сухих коробочек проводится через люк шнека между сушильным и охладительным барабанами.

Сушка семян льна

      Естественная сушка. Семена льна, получаемые при уборке урожая, особенно сноповым способом, в дождливые годы имеют влажность 20% и выше. При хранении они теряют всхожесть от самосогревания. Чтобы сберечь семена, необходимо их подсушить до кондиционной влажности—12—13%. При невысокой влажности прибегают к естественной сушке семян на открытом воздухе или на веялках-сортировках.
      На открытом воздухе (солнечная сушка) или под навесом (сушка проветриванием) семена рассыпают слоем 3—4 см на пологе, брезенте или асфальтированной площадке и в течение дня несколько раз перелопачивают. При этом способе сушки за один солнечный день можно снизить влажность на 3—4%. Недостаток естественной сушки в том, что она зависит от погодных условий и связана с большими затратами труда.
      Сушка продуванием на веялках-сортировках может быть механизирована, но влажность семян при этом снижается незначительно.
      Искусственная сушка. Наиболее надежной и быстрой, не зависящей от погодных условий, является искусственная сушка семян, которая может быть механизирована полностью. Для этого применяются шахтные зерносушилки (ЗС-ВИСХОМ, СЗС-2, СЗМ-1,5 «Десна»), имеющиеся почти в каждом льноводном хозяйстве. В перечисленных сушилках семена сушат смесью топочных газов с наружным воздухом, проходящей через движущуюся их массу. Каждая сушилка имеет топку, сушильную шахту, вентилятор для нагнетания (или просасы-вания) в сушильную камеру теплоносителя. Ниже сушильной, в одном корпусе с ней, устанавливается охладительная шахта, в которой поток холодного воздуха, создаваемый вентилятором, охлаждает высушенные семена.
      Перед началом сушки подбирают партии семян (одного сорта и репродукции), близкие по влажности (расхождения не должны превышать 1—2%). Засоренные семена льна перед загрузкой в шахтную сушилку обязательно надо очищать. Удаление семян сорняков (более влажных, чем семена основной культуры) ускоряет сушку. Наличие крупных соломистых примесей недопустимо, потому что, попадая в сушилку, они образуют застойные зоны, что ведет к пересушке семян в этих местах и к загоранию их.
      Для семян льна в зависимости от их начальной влажности рекомендуют следующие (общие для всех сушилок шахтного типа) температуры теплоносителя (табл. 92).

Таблица 92

Температурный режим сушки семян льна в зависимости от их начальной влажности

      В сушилке ССЛ-ВИСХОМ температура теплоносителя не должна быть выше 55°.
      В последние годы на сушке семян льна применяют барабанную зерносушилку СЗПБ-2,0. Семена льна шнеком подаются в загрузочную трубу и далее во вращающийся сушильный барабан.
      При вращении барабана они непрерывно пересыпаются и под воздействием воздушного потока и подпора загрузки перемещаются вдоль барабана. Теплоноситель, проходя через сушильный барабан, омывает и высушивает их. Высушенная масса семян горизонтальным шнеком отводится в охладительный барабан, где охлаждается наружным воздухом. Из охладительного барабана через шлюзовой затвор семена поступают в разгрузочный бункер или в мешки. Производительность барабанной сушилки на сушке семян льна 1200—1300 кг/час, температура теплоносителя на входе в сушильный барабан не должна превышать 100°.

Переработка льняного вороха

      После сушки льняной ворох поступает на переработку для выделения семян. Для проведения этой операции машина должна иметь следующие рабочие органы: терочный аппарат для разрушения семенных коробочек; рабочий орган для отделения путанины (обычно это соломотрясы или грохоты); ветрорешетную очистку для отделения мякины и тяжелых мелких примесей. Машинами, имеющими рабочие органы, которые могут быть использованы для этого, являются льняные молотилки, зерноуборочные комбайны, которые используются на переработке льняного вороха во многих колхозах и совхозах. На комбайне можно в час переработать 2—3 т вороха, а в день — ворох с 15—18 га. Практика показывает, что в ряде хозяйств эта работа проходит неудовлетворительно: допускаются большие потери семян с мякиной (10—12%) и сильное дробление их в молотильном аппарате (8—10%).
      Опыт ВНИИЛ по переработке льняного вороха позволяет рекомендовать приспособление к комбайну для этой работы, обеспечивающее практически переработку вороха без дробления и без потерь семян.
      Как известно, при уборке зерновых культур молотильный барабан делает 1000 об/мин и больше. Если при таком числе оборотов перетирать льняной ворох, то будет много дробленых семян, поэтому нужно уменьшить Число оборотов до 550—600 в минуту. Для этого следует поменять местами шкив барабана и шкив контрпривода. Зазор между бичом барабана и выходной кромкой каждой секции деки должен быть 3—5 мм, зазор на входе в деку — на 8—10 мм больше.
      Для получения чистых семян и уменьшения их отхода в мякину необходимо отрегулировать веялку и вентилятор. Нижнее решето крепится на корпусе веялки четырьмя болтами. Болты, расположенные вблизи от вентилятора, нужно установить на второе снизу углубление для гайки в щели на корпусе веялки, а болты другого конца решета — на третье снизу углубление для гайки.
      Заслонки вентилятора должны находиться в среднем положении. Жалюзи верхнего решета полностью открывают, а нижнего полностью закрывают. Удлинитель верхнего решета устанавливают по второму крепежному отверстию и полностью открывают его жалюзи, регулировочный щиток нижнего шнека — в верхнее положение. Возврат из колосового шнека должен направляться в молотильный аппарат.
      При такой регулировке на комбайнах С-4М, СК-3 можно получать семена с чистотой 92—95%; дробление семян — не больше 1% и потери семян — 2—4%.
      Некоторые механизаторы в целях полного исключения потерь прикрывают заслонками окна вентилятора более чем наполовину. Семена при этом получаются более загрязненными.
      В семенах, поступающих из веялки в бункер, всегда имеется некоторое количество целых семенных коробочек. Можно избавиться и от них и поднять чистоту семян до 96—98%, заменив нижнее жалюзийное решето на плоское штампованное с круглыми отверстиями диаметром 3,5 мм.
      При переработке льняного вороха с жатки комбайна надо снять мотовило и отключить привод к ножу и шнекам жатки. Ворох вилами подают на наклонный (плавающий) транспортер. При этом надо иметь в виду, что рабочий не должен подходить к жатке ближе 1 м.
      Уборка льна совпадает с уборкой зерновых. Это обстоятельство заставляет отказаться от использования зерноуборочных комбайнов на переработке льняного вороха и переходить к его переработке на специальных машинах.
      Указанные специальные машины согласно действующим агротехническим требованиям должны перерабатывать ворох от льнокомбайнов, от льномолотилок, ис-пользуемых на очесе снопов, клеверную пыжину. Влажность вороха допускается до 20%. Производительность машины 1,5—2 т вороха в час. Чистота семян должна быть—-95%, дробление не более 1%, снижение всхожести до 0,5%.
      Работы, проведенные ВНИИЛ, позволили создать две машины: одну на базе зерноуборочного комбайна, другую на базе сложной льномолотилки.
      Ворохоразделочиая машина ВР-1,2, созданная на базе льномолотилки МЛ-2,8, имеет производительность в час чистого времени до 1 т вороха, дает семена чистотой 84—96%, допускает дробление семян от 0,5 до 0,7% и потерю семян до 5,0%. Переработка 1 т вороха на ней обходится в 5 руб. 97 коп. Затраты труда на 1 т вороха 3,75 часа.
      Машину обслуживают три человека. Она поставлена на производство.
      Терка-веялка МВ-2,5, созданная на базе зерноуборочного комбайна СК-4, имеет производительность в час чистого времени до 3 т вороха, дает семена чистотой 84—98%, допускает дробление семян от 0,4 до 1,8% и потери семян до 3,3%. Переработка 1 т вороха на ней обходится в 2 руб. 23 коп. Затраты груда на 1 т вороха 1,45 часа. Машину обслуживают четыре человека. Рекомендована к производству.

Очистка и сортирование семян льна

      Чтобы эффективно использовать льноочистительные машины, необходимо знать физико-механические свойства семян льна и основных их засорителей (табл. 93).

Таблица 93

Основные физико-механические свойства семян льна и главнейших их засорителей

      Очистку семян льна по размерам проводят на штампованных решетах и на ячеистых поверхностях (триерах). На решетах с продолговатыми отверстиями семена очищают в зависимости от толщины, а на решетах с круглыми отверстиями — в зависимости от ширины семян, на триерах — в зависимости от длины компонентов смеси.
      При очистке на решетах с продолговатыми отверстиями семена льна должны повернуться на ребро или оторваться от поверхности решета и попасть в отверстие «торчком». Это связано с тем, что у них толщина в 2 раза меньше ширины. Поэтому при плоском движении их просеваемость по решету более затруднена, чем при отрыве семян от его поверхности.
      При очистке на решетах с круглыми отверстиями отделяемые частицы свободно проходят через отверстия решета, если их ширина будет меньше диаметра отверстия. При этом продолговатые семена быстрее будут проходить через отверстия, когда решето встряхивается с помощью подбивальщиков или других механизмов или когда отверстия имеют отгиб кромок (как у торичного решета льноочистителя).
      На цилиндрических триерах очистка семян льна проводится по длине. В зависимости от диаметра ячеек на триере можно отделять примеси, длина которых будет меньше диаметра ячейки или больше его.
      Очистка семян льна воздухом (по парусности) основана на неодинаковой способности частиц семенной смеси оказывать сопротивление воздушному потоку. Это сопротивление зависит от веса частицы, ее размеров, формы и других факторов. Семена льна имеют своеобразную форму, поэтому они плохо отделяются в воздушном потоке от таких сорняков, как плевел, василек и горец льняной.
      Известно, что семена имеют различную поверхность. У семян льна, например, она гладкая, а у некоторых сорняков шероховатая, бугорчатая, ямчатая, с бороздками.
      На этом различии и основана очистка льносемян на движущейся фрикционной поверхности. Частицы с шероховатой поверхностью, сцепляясь с ворсом движущейся поверхности, будут перемещаться вместе с ней, а гладкие — скатываться вниз.
      На различиях удельного веса семян льна и сорняков основано отделение плевела и василька на льноочистителях. Густой сыпью семена поступают на колеблющееся решето, на котором гладкие и тяжеловесные семена льна опускаются вниз, а шероховатые и легковесные сорняки и примеси поднимаются вверх.
      В настоящее время семена льна очищают на сложных зерноочистительных машинах ОСМ-ЗУ и ОС-4,5. На льносемстанциях пользуются специальным льноочистительным агрегатом, состоящим из ветрорешетной машины ЛОС-0,8, триерного блока ТБ-600 и фрикционного триера ТФ-0,6.

Рис. 76. Схема работы машины ОСМ-3У на очистке семян льна:
1 - выход для крупных соломистых примесей; 2 и 3 - для мелких примесей;
4 - для крупных примесей; 5 - для коротких примесей; 6 - для длинных примесей; 
7 - выход для чистых семян.

      На машинах ОСМ-ЗУ и ОС-4,5 семена льна очищают с первоначальной чистотой не ниже 92%. Если же они засорены в большей степени, то их пропускают через веялку-сортировку ВС-2,0 или другую ветрорешетную машину. На машине ОСМ-3У (рис. 76) необходимо заменить решета и триерные цилиндры, а также уменьшить число оборотов приводного (эксцентрикового) вала с 500 до 350 в минуту и заменить сетку второй аспирации на мелкую (к машине прилагается). Для очистки семян льна рекомендуется поставить комплект решет и триерных цилиндров согласно таблице 94.

 Таблица 94

Комплект решет и триерных цилиндров к машине ОСМ-ЗУ для очистки семян льна

      Льняной цилиндр устанавливается на место кукольного, а кукольный на место овсюжного. Производительность машины ОСМ-3У в зависимости от засоренности и видового состава сорняков колеблется от 300 до 450 кг/час. Если в семенах льна есть трудноотделимые сорняки (плевел, василек и горец льняной), производительность машины понижается до 300 кг/час; если таких сорняков нет, то она возрастает до 450 кг/час.
      При очистке семян льна на машине ОС-4,5 (рис. 77) решета Б1 Б2, В и Г устанавливают с отверстиями такой же формы и размеров, как на машине ОСМ-3У, и в такой же последовательности заменяют триерные цилиндры. Заменяют зерновой питающий валик приемной камеры на валик с более мелкими желобками, а также устанавливают на двигателе шкив меньшего диаметра (к машине прилагается).
      Льносемеочистительный агрегат ЛОС-0,8 предназначен для очистки семян льна с первоначальной чистотой не ниже 95%. В ветрорешетную машину агрегата (рис. 78) могут быть поставлены следующие решета (табл. 95).

Таблица 95

Решета для ветрорешетной машины ЛОС-0,8

      В триерном блоке установлены цилиндры с ячейками диаметром 3,5 мм для отделения коротких примесей.

Рис. 77. Схема движения зерна и примесей при очистке семян льна на машине ОС-4,5:
1 — мелкие примеси (подсев); 2 — мелкие примеси, щуплое и битое зерно; 3 — крупные и легкие примеси, легкое зерно; 4 — короткие примеси; 5 — длинные примеси; 6 — очищенное зерно.

      Фрикционный триер ТФ-0,6 предназначен для отделения щуплых и дефектных семян льна, а также труд ноотделимых сорняков (плевела, василька и горца льняного с околоцветником), которые не может отделить ветрорешетно-триерная очистка.
      При отсутствии сложных машин семена очищают сначала на веялке-сортировке ВС-2,0, а затем на льноочистителе, льняном триере ТЛ-400 или универсальном триере ТУ-400.
      На веялке ВС-2,0 устанавливают тканые решета с квадратными отверстиями: верхнее (№ 50) со стороной квадрата 5 мм, среднее (№ 32)—3,2 мм, подсевное (№ 12) — 1,2 мм, сортировальное (№ 14) — 1,4 мм.
      При очистке семян льна на этой машине приходится до минимума прикрывать поступление воздуха. Поэтому с верхних решет крупные примеси не выдуваются, а попадают на нижний решетный стан (на подсевное решето). Чтобы устранить этот недостаток, удлиняют среднее (второе) решето, прикрепляя к нижней стороне его рамки лист железа или фанеры шириной 100 мм. Производительность веялки ВС-2,0 на очистке семян льна 250—300, на разделке перетертого льняного вороха 400—500 кг/час.
      На льноочистителе отделяют крупные и мелкие семена сорняков и другие примеси. Первоначальная чистота семян должна быть не ниже 95%.
      Качество очистки на льноочистителе зависит от количества поступающих на его решето семян и степени их засоренности. Если они содержат немного семян плевела и василька, то их пропускают тонким слоем (в одно зерно). При большом количестве этих сорняков (свыше 1500 штук на 1 кг семян) семена пропускают через машину несколько раз или методом густой сыпи. При густой сыпи семена плевела и василька, имеющие меньший удельный вес и шероховатую поверхность, вместе с другими шероховатыми примесями, щуплыми и дефектными семенами льна поднимаются вверх, а нормальные семена льна опускаются вниз и при движении по семенному (с эллиптическими отверстиями) решету первыми поступают в семясборник, а затем в лоток. Сход семян с семенного решета грохота будет составлять около 30%, и их нужно пропустить вторично. Производительность льноочистителя три очистке семян тонким слоем — не более 180 кг, густой сыпью — до 250 кг/час.

Рис. 78. Схема движения продукта в машине ЛОС-0,8: 1 — крупный плевел, крупная пелюшка, крупные примеси; 2 —крупный плевел крупные примеси; 3 — мелкий плевел, василек, мелкие примеси- 4 — крупный василек и плевел, крупные примеси; 5 — мелкий плевел, мелкие примеси-6 — пыль, легкие примеси; 7 — щуплые семена, василек, легкие сорняки; 8—горец овсяный, короткие примеси; 9 — семена льна.

      Льняной триер ТЛ-400 предназначен для очистки семян льна от коротких примесей и сорняков (например, семян горца льняного) после пропуска их через льноочиститель. На триер вставляют сотрясательное решето с круглыми отверстиями диаметром 2,5 или 2,7 мм. Это улучшает очистку семян от крупносемянного горца льняного с околоцветником. Чтобы триер работал нормально, производительность его не должна превышать 100—120 кг/час.
      Универсальный триер ТУ-400 (рис. 79) в отличие от льняного триера ТЛ-400 может очищать семена не только от коротких, но и от длинных примесей. Для этого он снабжен набором триерных цилиндров с разными размерами ячеек и цилиндрическими решетами.

Рис 79. Схема очистки семян льна в триере ТУ-400 (при двойном действии):
1 - засыпной ковш; 2 - заслонка; 3 - питающий валик; 4 - сотрясательное решето; 
5 - вентилятор; 6 - льняной цилиндр; 7 - кукольный цилиндр; 
8 - цилиндрическое решето; а - выход для легких примесей, б - для крупных примесей, 
в - для коротких примесей, г - для чистых семян, д - для щуплых семян, 
е - для длинных примесей, ж - выход для коротких примесей (при одинарном действии)

      Если в семена» льна наряду с короткими примесями есть длинные, устанавливают два цилиндра: один — льняной с ячейками диаметром 3,5 мм для отделения коротких примесей, а другой — кукольный с ячейками диаметром 5 мм для отделения длинных примесей (василька и др.). При установке триера на очистку семян льна только от коротких примесей ставят два льняных цилиндра с ячейками диаметром 3,5 мм. Сотрясательное решето вставляется с круглыми отверстиями диаметром 2,6 мм, а цилиндрическое — с продолговатыми шириной 0,8 мм. Производительность триера при одновременном отделении коротких и длинных примесей составляет 60—70, при отделении только коротких примесей— 100—120 ,кг/час.
      Установка и пуск машины. Зерноочистительные и семеочистительные машины перед работой устанавливают по уровню в продольном и в поперечном направлениях. Перед пуском и» проверяют натяжение ремней, крепление болтовых соединений и исправность механизмов регулировок. Смазывают подшипники, прокручивают вручную главный (приводной) вал машины (при этом ремень от двигателя должен находиться на холостом шкиве). После пуска двигателя, когда он разовьет полные обороты, приводной ремень переводят на рабочий шкив.
      Регулировка рабочих органов. У зерноочистительных машин ОСМ-3У и ОС-4,5, а также в ветрорешетной машине ЛОС-0,8 регулируют подачу семян на решета с таким расчетом, чтобы они поступали равномерным слоем по всей ширине решет и чтобы не было схода нормальных семян льна с решет, отделяющих крупные примеси. Воздушный поток регулируют так, чтобы первой аспирацией обеспечивалось выделение пыли, половы, легких сорняков и т. д., но не уносило в отходы нормальные семена.
      Вторая аспирация должна отделять легкие примеси, щуплые семена и легковесные сорняки. Воздушный поток регулируется с помощью рычагов, связанных с клапанами всасывающего вентилятора. По мере износа щеток их подтягивают к решетам с таким расчетом, чтобы они прилегали по всей ширине решет.
      Качество работы триеров зависит от положения рабочей кромки желоба. При высокой установке рабочей кромки желоба в кукольном триере семена получаются более чистыми, но при этом не все хорошие семена попадают в желоб, они уходят вместе с длинными примесями в отход. При низкой же установке рабочей кромки желоба в очищенных семенах будет оставаться много длинных примесей, но меньше хороших семян попадет в отходы.
      В первом случае при отделении коротких примесей они могут оставаться в семенах, во вторам — семена будут более чистыми, но при этом хорошие семена могут уйти в отход. Поворачивая желоба триеров с помощью маховичков у сложных машин и рычагов у простых машин, проверяя соответствующие выходы, желоб устанавливают в нужное положение.
      Очистка (опоражнивание) пылеотстойника должна проводиться, когда он будет наполнен не больше чем на 2/3 длины.
      В простых машинах регулируют следующие рабочие органы: на веялке ВС-2,0 — подачу семян с помощью открытия заслонки, наклон верхних решет — перестановкой их в пазах и силу воздушного потока — прикрыванием входных окон вентилятора; в льноочистителе — подачу семян на грохот заслонкой засыпного бункера и угол наклона грохота, укорачивая или удлиняя его подвески; в триерах ТЛ-400 и ТУ-400 — подачу семян с помощью заслонки засыпного ковша, наклон сотрясательного решета, направление воздушного потока вентилятора с помощью щитков и наклон желоба с помощью рычага, связанного с желобом.


К титульной странице
Вперед
Назад