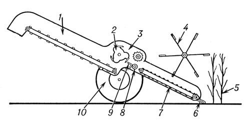
Силосоуборочный комбайн, машина для одновременного скашивания, измельчения и погрузки в транспортные средства силосуемых с.-х. культур. Можно использовать также для заготовки сенажа, зелёной подкормки, травяной муки. Основные рабочие органы С. к. показаны на рис. Режущий аппарат жатки срезает стебли, мотовило укладывает их на подающий транспортёр, который перемещает стебли к верхнему и нижнему вальцам питающего аппарата. Вальцы захватывают стебли, уплотняют их и проталкивают на противорежущую пластину измельчающего аппарата. Ножевой барабан в паре с противорежущей пластиной отсекает отрезки стеблей, которые падают на выгрузной транспортёр. Последний выгружает измельченную растительную массу в транспортные средства. промышленность СССР выпускает прицепные и самоходные (для работы на переувлажнённых почвах) С. к. Управляет С. к. тракторист или водитель самоходного шасси. Аналогичные по технологической схеме работы С. к. применяют за рубежом.
| Показатели | Марка комбайна | ||
| КС-2,6 | КСГ-2,6 | КС-1,8 | |
| Ширина захвата, м | 2,6 | 2,6 | 1,8 |
| Производительность, га/ч | 0,9—1,5 | 1,0 | 0,6—1,1 |
| Высота среза, мм | 80—150 | 150—200 | 60—200 |
| Расчётная длина резки, мм | 20 | 20—30 | 10—60 |
| Агрегатируют с трактором | MT3-80, T-150, T-74, ДТ-75 | Самоходный | MT3-80, T-150, T-74, ДТ-75, ЮМЗ-6 |

Простейшая схема силосоуборочного комбайна: 1 — выгрузной транспортер; 2 — ножевой барабан; 3 — кожух измельчающего аппарата; 4 — мотовило жатки; 5 — стебли силосуемой культуры; 6 — режущий аппарат жатки; 7 — подающий транспортер жатки; 8 — нижний валец питающего аппарата; 9 — противорежущая пластина измельчающего аппарата; 10 — ходовая система.