Пресс-форма, устройство для получения объёмных заготовок (изделий) из металла, пластмасс, резины, выплавляемых масс на основе парафина и стеарина, керамических и др. материалов под действием на них давления, создаваемого на литейных машинах или прессах. П.-ф. применяют при литье под давлением металлов и полимерных материалов, литье по выплавляемым моделям, прессовании полимерных материалов. Различают П.-ф. ручные, полуавтоматические и автоматические; съемные, полусъемные и стационарные; с горизонтальной и вертикальной плоскостями разъёма. В П.-ф. (рис.) может быть одна или несколько оформляющих (формующих) полостей, которые являются обратным (негативным) отпечатком внешней поверхности заготовки. При прессовании полых изделий их внутренние полости формуются пуансонами (стержнями). Детали П.-ф. изготовляют из углеродистой или легированной стали, сплавов цветных металлов, гипса и др. материалов.
В зависимости от материала и требований к получаемой заготовке в П.-ф. поддерживают определённый температурный баланс. Для регулирования температуры П.-ф. используют пар или воду, подводимые через отверстия в плите; специальные обогревательные кольца с полупроводниковым слоем; электрические нагревательные элементы и др.
Получение заготовок и изделий на литейных машинах и прессах в П.-ф. характерно для серийного и массового производства, например в автомобильной, радиотехнической, электротехнической промышленности, при изготовлении сантехнического оборудования.
Лит.: Лейкин Н. Н., Конструирование пресс-форм для изделий из пластических масс, 2 изд., М. — Л., 1966; Демин Е. Н., Справочник по пресс-формам, М., 1967.
М. Б. Беккер.

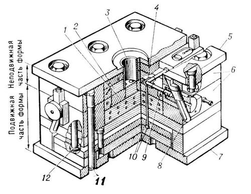
Прессформа для литья под давлением угольника из латуни: 1 и 2 — вкладыши; 3 — литниковая система; 4 — отливка в оформляющей полости; 5 и 7 — плиты крепления пресс-формы к машине; 6 — обоймы для крепления вкладышей; 8 — механизм передвижения стержней; 9 — подвижный стержень; 10 — выталкиватель; 11 и 12 — механизмы выталкивания.