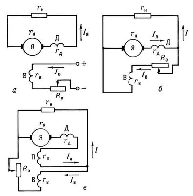
Постоянного тока генератор, постоянного тока машина, работающая в генераторном режиме. Работа П. т. г. описывается следующими уравнениями: Р = U×Iя, где Р — полезная мощность, U — напряжение на зажимах, Iя — ток якоря; U = Е — IяRя, где Е — эдс якоря, Rя — сопротивление в цепи якоря, Rя = rя + rд + rп (рис. 1). Основное требование, предъявляемое к П. т. г., — постоянство напряжения на его зажимах при изменении нагрузки. Зависимость между напряжением на зажимах машины и током нагрузки U = f (l) называется внешней характеристикой и определяется системой возбуждения П. т. г. Схемы возбуждения представлены на рис. 1; внешние характеристики при различных схемах возбуждения показаны на рис. 2, а. Уменьшение напряжения при росте нагрузки П. т. г. возникает из-за падения напряжения в цепи якоря и размагничивающего действия поля якоря, обусловленного насыщением магнитопровода. Оптимальной является система смешанного возбуждения (устаревшее название — компаундное возбуждение), при которой можно получить одинаковое напряжение и при холостом ходе, и при номинальной нагрузке. Точная компенсация падения напряжения в цепи якоря (ротора) и размагничивающего влияния поля якоря, вызывающего уменьшение основного магнитного потока под нагрузкой, возможна лишь при одном значении тока нагрузки. При независимом возбуждении компенсация отсутствует. Большее уменьшение напряжения при самовозбуждении происходит вследствие уменьшения тока возбуждения с ростом нагрузки. Диапазон регулирования тока возбуждения для поддержания постоянства напряжения при изменении нагрузки определяют регулировочные характеристики П. т. г. Iв = f (I) (рис. 2, б).
Другое важное требование, которому должен отвечать П. т. г., — безыскровая коммутация тока. Уменьшение искрения обеспечивается дополнительными полюсами на статоре машины. Мощные П. т. г. иногда выполняют с компенсационной обмоткой, которая закладывается в пазы полюсных наконечников и соединяется последовательно с обмоткой якоря. Её назначение — компенсировать поле якоря в зоне под главными полюсами. Она автоматически обеспечивает компенсацию при всех нагрузках и равномерное распределение индукции под полюсной дугой. Т. о. снижается максимальное напряжение между соседними коллекторными пластинами и устраняется «потенциальное» искрение (вне зоны коммутации).
В СССР выпускаются П. т. г. как общего применения (серия 2П), так и специального назначения, например П. т. г. для электросварки (серии ГСО и ГД; серии ПСУ и ПСГ с приводом от асинхронного электродвигателя, на токи 125—500 а, при напряжении 60—70 в), электромашинные усилители (ЭМУ). В системах автоматического регулирования применяются тахогенераторы (микромашины) постоянного тока, имеющие большую точность, чем тахогенераторы переменного тока.
Лит. см. при ст. Постоянного тока машина
Л. М. Петрова.

Рис. 2. Внешние (a) и регулировочные (б) характеристики генераторов постоянного тока: 1 — с самовозбуждением; 2 — с независимым возбуждением; 3 — со смешанным возбуждением; I — ток в нагрузке; Iв — ток возбуждения; U — напряжение на зажимах генератора; Rв — сопротивление для регулирования тока возбуждения; n — частота вращения якоря генератора.

Рис. 1. Схемы возбуждения генераторов постоянного тока: а — независимое; б — самовозбуждение; в — смешанное; Я — якорь; Д — обмотки дополнительных полюсов; В — параллельная обмотка возбуждения; П — последовательная обмотка возбуждения; Iя — ток якоря; I — ток в нагрузке; Rв — сопротивление для регулирования тока возбуждения; Iв — ток возбуждения; rя — сопротивление обмотки якоря; rд — сопротивление обмотки дополнительных полюсов; rв — сопротивление параллельной обмотки возбуждения; rп — сопротивление последовательной обмотки возбуждения; rн — нагрузка.