Плазменная печь, электрическая печь для нагрева, плавки и металлургической переработки металлов и сплавов, в которой источником тепла служит плазма, получаемая с помощью плазматронов. Различают плазменнодуговые (ПДП) и плазменные высокочастотные (ПВП) печи.
Известны 2 основных типа ПДП: подовые (или тигельные) печи периодического действия и печи с кристаллизатором полунепрерывного действия. Подовая ПДП (рис. 1) по форме ванны и футеровочным материалам не отличается от обычной дуговой печи того же назначения. Для отбора проб по ходу плавки, замера температуры металла, присадки легирующих добавок, раскислителей и шлакообразующих материалов в своде или корпусе печи имеется одно или несколько отверстий с водоохлаждаемыми крышками. Уплотнение технологических отверстий обеспечивает поддержание в печи избыточного давления плазмообразующего газа. В ПДП катодом дугового разряда постоянного тока служат катоды одного или нескольких плазматронов (чаще всего из вольфрама или специального тугоплавкого сплава), а анодом — обрабатываемый металл в ванне печи. Ток, проходящий через металл, отводится установленным в подине печи так называемым подовым электродом (как правило, водоохлаждаемым). Дуга в ПДП обдувается прямым или завихрённым потоком инертного газа (обычно аргона); это, во-первых, стабилизирует дугу и повышает её температуру до 10 000—20 000 К и, во-вторых, создаёт над выплавляемым металлом (сплавом) нейтральную атмосферу. ПДП применяют для производства особо ответственных сталей и специальных сплавов (см. Плазменная металлургия).
В ПДП с кристаллизатором переплавляемые заготовки по схеме института электросварки АН УССР располагаются вертикально (рис. 2, а), а по схеме института металлургии АН СССР — горизонтально (рис. 2, б) с подключением к ним в случае надобности дополнительного питания переменным током. Возможна подача вместо компактных заготовок мелкофракционного материала. В камере печи поддерживается избыточное давление (обычно небольшое, но возможно его повышение до нескольких десятков атм). Процессом кристаллизации слитка в ПДП можно управлять в более широких пределах по сравнению с вакуумной дуговой и электрошлаковой печами благодаря раздельному регулированию скорости плавления и мощности теплового потока дуги.
Для плавки газонасыщенных материалов, обеспечивающей их дегазацию, применяют ПДП низкого давления (103—0,10 н/м2, или 10-2—10-6 кгс/см2); они используются вместо более дорогих и сложных электроннолучевых печей.
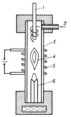
В ПВП (рис. 3) плазма вследствие особенностей устройства плазматрона не содержит частиц вещества электродов и является более чистой; поэтому печи такого типа чаще применяют для выращивания монокристаллов и переработки чистых веществ.
Лит. см. при ст. Плазменная металлургия.
А. Г. Фридман.

Рис. 1. Подовая плазменнодуговая печь: 1— плазматрон; 2 — электрод; 3 — отверстие с крышкой.

Рис. 3. Высокочастотная плазменная печь: 1 — запальный электрод; 2 — подача газопорошковой смеси; 3 — герметичная камера; 4 — плазма; 5 — индуктор; 6 — выращиваемый кристалл.

Рис. 2. Плазменнодуговые печи с кристаллизатором: а — вертикальное расположение заготовок, б — горизонтальное; 1 — плазматрон; 2 — переплавляемый металл.