Молотилка, машина для выделения семян из колосьев, метёлок, початков, корзинок с.-х. растений. Внедрение М. в сельское хозяйство началось в 17 в. В России первое молотильное устройство было разработано мастеровыми Андреем Терентьевым и Моисеем Криком в 1655. В конце 18 в. в Шотландии был изготовлен вращающийся молотильный барабан с трёхгранными билами, охваченный на части окружности цилиндрическим кожухом. В дальнейшем молотильный аппарат с бильным барабаном был усовершенствован и применяется в М. и зерноуборочных комбайнах. В 1-й половине 19 в. был предложен молотильный аппарат с зубовым барабаном и зубчатым подбарабаньем. Этот рабочий орган послужил основой для создания М., а потом и комбайнов со штифтовым (зубовым) барабаном. Все части М., кроме барабана, изготовляли из дерева. Первые М. приводились в действие вручную. В 1809 в Москве было организовано производство конных М. Первые М. только обмолачивали хлеб, зерно же из вороха не выделяли. С введением соломотряса, разделяющего продукты обмолота на солому и зерно, были созданы полусложные М., развившиеся с установкой очисток в сложные М., дающие высококачественное товарное зерно и приводимые в действие двигателями (паровым, внутреннего сгорания, электрическим).
В СССР производство сложных зерновых М. было организовано в 1924. М. имела бильный молотильный аппарат, соломотряс, 3 очистки зерна, дополнительные устройства для подачи хлеба в молотильный аппарат и отвода продуктов обмолота. В связи с переходом на комбайновую уборку в СССР в 1950—54 выпуск зерновых М. прекращён. Для обмолота других с.-х. культур в СССР применяют кукурузные, льняные, конопляные, кенафные, овощные, околотные М.
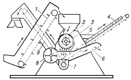
Кукурузная М. (рис. 1) обмолачивает початки, отделяет их стержни и очищает зёрна от лёгких примесей. Рабочие органы М. приводятся в действие от электродвигателя мощностью 7,5 квт. Загрузочный элеватор подаёт початки из приёмного бункера в молотильный аппарат, состоящий из штифтового барабана и цилиндрического решётчатого подбарабанья. Намолоченное зерно, прошедшее сквозь отверстия подбарабанья, падает на решето очистки. Вентилятор выдувает из вороха лёгкие примеси. Очищенное зерно выносится элеватором в тару. Транспортёр початков отбрасывает стержни в сторону от М. Производительность М. до 3 т/ч.
Льняная (см. Льномолотилка), конопляная и кенафная М. аналогичны по технологической схеме работы, но несколько отличаются по конструкции. Эти М. очёсывают и обмолачивают снопы лубяных культур, перетирают ворох и очищают семена. Для выполнения указанных операций М. имеют зажимной транспортёр со столами подачи и отвода очёсанных снопов, очёсывающий и тёрочный аппараты, грохот (решётный стан с решётами и вентилятором), элеватор семян, механизмы передач. В действие М. приводятся от вала отбора мощности трактора. Производительность на сноповой массе конопляной М. до 1,4 т/ч, кенафной — 2,3 т/ч.
Овощная М. (рис. 2) предназначена для обмолота семенников и частичного вытирания семян овощных культур. Может обмолачивать зерновые культуры, а также обмолачивать и вытирать семена трав. При молотьбе семенники вручную укладывают на транспортёр подавателя, который перемещает семенники к ножам выравнивателя, а затем битер сбрасывает ворох в молотильный аппарат, состоящий из бильного барабана и решётчатого подбарабанья. После обмолота ворох поступает на соломотряс. Часть семян и коробочки, пройдя сквозь отверстия подбарабанья и соломотряса, попадают в тёрочный аппарат, который перетирает коробочки и выбрасывает ворох на решёта сортировки, где потоком воздуха, нагнетаемого вентилятором, от семян отделяется мусор. Чистые семена проходят сквозь отверстия решёт и попадают на транспортёр, ссыпающий их в тару. Для обмолота зерновых культур вместо ножевого выравнивателя используют стрясную доску и клавишный подаватель и заменяют решётный соломотряс клавишным. Выпускаемая в СССР М. приводится в действие от электродвигателя мощностью 10 квт. Производительность её до 500 кг/ч при обмолоте семенников овощных культур и 3000 кг/ч при обмолоте зерновых культур.
Околотная М. (рис. 3) предназначена для получения неповреждённой обмолоченной стеблевой массы (околота) зерновых колосовых культур, из которой изготовляют маты для укрытия парников, кагатов сахарной свёклы, буртов картофеля и столовых корнеплодов. Основные узлы М.: зажимной транспортёр, очёсывающий барабан, подвижная рамка с 6 молотильными барабанами бильного типа, транспортёр вороха, электродвигатель мощностью 4,5 квт. Зажимной транспортёр подаёт разровненный вручную слой стеблей в молотильную камеру. Рамка с вращающимися молотильными барабанами совершает возвратно-поступательное движение и вымолачивает колосья. Длину хода рамки и расстояние между верхними и нижними барабанами можно регулировать. Очёсывающий барабан счёсывает спутанные стебли с комлей растений. Производительность М. до 1,2 т/ч.
Лит.: Барсуков А. Ф., Еленев А. В., Краткий справочник по сельскохозяйственной технике, М., 1968.

Рис. 1. Схема кукурузной молотилки: 1 — питающий транспортёр; 2 — молотильный барабан; 3 — цилиндр с отверстиями; 4 — транспортёр стержней початков; 5 — решётный стан; 6 — рукав для вывода лёгких примесей; 7 — зерновой шнек; 8 — вентилятор; 9 — зерновой элеватор.

Рис. 2. Схема овощной молотилки: 1 — подаватель; 2 — планчатый транспортёр подавателя; 3 — выравниватель; 4 и 6 — битеры; 5 — молотильный барабан; 7 и 9 — скатные доски; 8 — соломотряс; 10 — верхнее решето сортировки; 11 — сортировка; 12 — ковшовый транспортёр; 13 — вентилятор; 14 — тёрочный барабан; 15 — колосниковое подбарабанье; 16 — скатная доска; 17 — стрясная доска; 18 — клавишный подаватель; 19 — клавишный соломотряс.

Рис. 3. Схема околотной молотилки: 1 — стол подачи; 2 — молотильные барабаны; 3 — зажимной транспортёр; 4 — очёсывающий барабан; 5 — транспортёр вороха; 6 — наружный транспортёр; 7 — рама.