Мины морские, боевое средство (вид морских боеприпасов) для поражения кораблей противника и затруднения их действий. Основные свойства М. м.: постоянная и длительная боевая готовность, внезапность боевого воздействия, сложность обезвреживания мин. М. м. могут устанавливаться в водах противника и у своего побережья (см. Минные заграждения). М. м. представляет собой заряд взрывчатого вещества, заключённый в водонепроницаемом корпусе, в котором помещены также приборы и устройства, вызывающие взрыв мины и обеспечивающие безопасность обращения с ней.
Первую, правда неудачную, попытку применения плавучей мины предприняли русcкие инженеры в русско-турецкой войне 1768—1774. В 1807 в России военным инженером И. И. Фитцумом была сконструирована М. м., подрываемая с берега по огнепроводному шлангу. В 1812 русский учёный П. Л. Шиллинг осуществил проект мины, взрываемой с берега с помощью электрического тока. В 40—50-х гг. академик Б. С. Якоби изобрёл гальваноударную мину, которая устанавливалась под поверхностью воды на тросе с якорем. Эти мины впервые были применены во время Крымской войны 1853—56. После войны русские изобретатели А. П. Давыдов и др. создали ударные мины с механическим взрывателем. Адмирал С. О. Макаров, изобретатель Н. Н. Азаров и др. разработали механизмы автоматической установки мин на заданное углубление и усовершенствовали способы постановки мин с надводных кораблей. М. м. получили широкое применение в 1-й мировой войне 1914—18. Во 2-й мировой войне 1939—45 появились неконтактные мины (главным образом магнитные, акустические и магнитно-акустические). В конструкции неконтактных мин были введены приборы срочности и кратности, новые противотральные устройства. Для постановки мин в водах противника широко использовались самолёты.
М. м. в зависимости от их носителей делятся на корабельные (сбрасываются с палубы кораблей), лодочные (выстреливаются из торпедных аппаратов подводной лодки) и авиационные (сбрасываются с самолёта). По положению после постановки М. м. делятся на якорные, донные и плавающие (с помощью приборов удерживаются на заданном расстоянии от поверхности воды); по типу взрывателей — на контактные (взрываются при соприкосновении с кораблём), неконтактные (взрываются при прохождении корабля на определённом расстоянии от мины) и инженерные (подрываются с берегового командного пункта). Контактные мины (рис. 1, 2, 3) бывают гальваноударные, ударно-механические и антенные. Взрыватель контактных мин имеет гальванический элемент, ток которого (во время соприкосновения корабля с миной) замыкает при помощи реле внутри мины электрическую цепь запала, что вызывает взрыв заряда мины. Неконтактные якорные и донные мины (рис. 4) снабжаются высокочувствительными взрывателями, реагирующими на физические поля корабля при прохождении им вблизи мин (изменяющееся магнитное поле, звуковые колебания и др.). В зависимости от природы поля, на которое реагируют неконтактные мины, различают магнитные, индукционные, акустические, гидродинамические или комбинированные мины. Схема неконтактного взрывателя включает элемент, воспринимающий изменения внешнего поля, связанные с прохождением корабля, усилительный тракт и исполнительное устройство (цепь запала). Инженерные мины делятся на управляемые по проводам и по радио. Для затруднения борьбы с неконтактными минами (траления мин) в схему взрывателей включаются приборы срочности, задерживающие приведение мины в боевое положение на любой требуемый период, приборы кратности, обеспечивающие взрыв мины только после заданного числа воздействий на взрыватель, и приборы-ловушки, вызывающие взрыв мины при попытке её разоружения.
Лит.: Белошицкий В. П., Багинский Ю. М., Оружие подводного удара, М., 1960; Скороход Ю. В., Хохлов П. М., Корабли противоминной обороны, М., 1967.
С. Д. Могильный.

Рис. 2. Устройство ударно-механической мины: 1 — горловина для ударного прибора; 2 — горловина для запального стакана; 3 — горловина для прибора потопления; 4 — ударно-механический прибор; 5 — прибор потопления (если мина всплывает); 6 — молоток прибора потопления; 7 — запальный стакан; 8 — зарядная камера; 9 — якорь; 10 — подъёмные скобы якоря.

Рис. 3. Контактная антенная мина: 1 — плавучий корпус мины; 2 — антенны, закрепленные на изоляторах (2а); 3 — выводы антенн; 4 — аппаратурный блок мины; 5 — минреп; 6 — якорь: 7 — буёк; 8 — подводная лодка, коснувшаяся минной антенны корпусом.

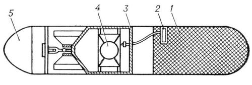
Рис. 4. Авиационная неконтактная донная мина: 1 — заряд взрывчатого вещества; 2 — электродетонатор; 3 — приборная камера; 4 — магнитный взрыватель, подвешенный на амортизаторах; 5 — парашютное отделение.

Рис. 1. Устройство гальваноударной мины: 1 — колпаки; 2 — предохранительный прибор; 3 — чашка якоря; 4 — ролики; 5 — подъёмные скобы; 6 — механизм установки на определённое углубление; 7 — лапы якоря.