Клистрон [от греч. klýzo — ударять, окатывать (волной) и (элек) трон], электровакуумный прибор СВЧ, в котором преобразование постоянного потока электронов в переменный происходит путём модуляции скоростей электронов электрическим полем СВЧ (при пролёте их сквозь зазор объёмного резонатора) и последующей группировки электронов в сгустки (из-за разности их скоростей) в пространстве дрейфа, свободном от поля СВЧ. Распространены 2 класса К. — пролётные и отражательные.
Пролётный К. — К., в котором электроны последовательно пролетают сквозь зазоры объёмных резонаторов (ОР) В зазоре входного ОР происходит модуляция скоростей электронов: электрическое поле в нем периодически полпериода ускоряет, а следующие полпериода замедляет движение электронов. В пространстве дрейфа ускоренные электроны догоняют замедленные, в результате чего образуются сгустки электронов. Проходя сквозь зазор выходного ОР, сгустки электронов взаимодействуют с его электрическим полем СВЧ, большинство электронов тормозится и часть их кинетической энергии преобразуется в энергию колебаний СВЧ.
Идея преобразования постоянного потока электронов в поток переменной плотности за счёт того, что ускоренные электроны догоняют замедленные, рассматривалась советским физиком Д. А. Рожанским в 1932, метод получения мощных колебаний СВЧ, основанный на этой идее, был предложен совместно советским физиком А. Н. Арсеньевой и немецким физиком О. Хайлем в 1935, первые конструкции пролётных К. были предложены и осуществлены в 1938 американскими физиками В. Ханом, Г. Меткалфом и независимо от них Р. Варианом и З. Варианом.
Большинство пролётных К. являются многорезонаторными усилительными К. (). Промежуточные ОР, расположенные между входным и выходным ОР, дают возможность расширить полосу пропускания частот, повысить кпд и коэффициент усиления. Усилительные К. выпускаются для работы в узких участках частот дециметрового и сантиметрового диапазонов волн с выходной мощностью от нескольких сотен вт до 40 Мвт в импульсном и от нескольких вт до 1 Мвт в непрерывном режиме работы. Коэффициент усиления К. обычно от 35 до 60 дб, кпд от 40 до 60%, полоса пропускания менее 1% в непрерывном режиме и до 10% в импульсном режиме. Основные области их применения: доплеровская радиолокация, связь с искусственными спутниками Земли, радиоастрономия, телевидение (К. непрерывного режима работы) и линейные ускорители элементарных частиц, оконечные усилители мощности радиолокационных станций дальнего действия и высокой разрешающей способности (К. импульсного режима работы).
Небольшую часть выпускаемых промышленностью пролётных К. составляют генераторные К. непрерывного режима работы. Обычно они имеют 2 ОР (). Небольшая доля мощности колебаний СВЧ, создаваемых во втором ОР, передаётся через щель связи в первый ОР для модуляции скоростей электронов. Их выходная мощность примерно от 1 до10 вт, кпд — менее 10%. Генераторные К. применяются главным образом в параметрических усилителях, радиомаяках сантиметрового и миллиметрового диапазонов волн.
Отражательный К. — К., в котором поток электронов, пройдя зазор ОР, попадает в тормозящее поле отражателя, отбрасывается этим полем назад и вторично проходит зазор ОР в обратном направлении. При первом прохождении зазора его электрическое поле СВЧ модулирует скорости электронов. При втором прохождении (в обратном направлении) электроны прибывают в зазор сформированными в сгустки; поле СВЧ в зазоре тормозит эти сгустки и превращает часть кинетической энергии электронов в энергию колебаний СВЧ. Сгустки электронов образуются в результате того, что ускоренные электроны в пространстве между ОР и отражателем проходят более длинный путь и находятся дольше, чем замедленные. При изменении отрицательного напряжения на отражателе меняются время пролёта электронов, фаза прибытия сгустков в зазор и частота генерируемых колебаний. Последнее используется для так называемой электронной настройки, позволяющей практически безынерционно и без затраты мощности управлять частотой генерируемых колебаний при частотной модуляции и автоматической подстройке частоты. Механическая перестройка частоты производится изменением зазора путём прогиба торцевой стенки (мембраны) металлического корпуса К. или посредством перемещения настраивающего поршня съёмной части ОР, присоединяемой к краям металлических дисков, выходящим из стеклянного или керамического корпуса К.. Многие отражательные К., кроме основного ОР, имеют второй ОР, находящийся вне вакуума (). Механическая перестройка частоты таких К. производится при перемещении штыря, изменяющего зазор второго ОР. Такие конструкции обеспечивают неограниченное число перестроек частоты. Присоединение высокодобротного резонатора повышает стабильность частоты, но снижает выходную мощность К.
Отражательный К. был разработан в 1940 группой советских инженеров — Н. Д. Девятковым, Е. Н. Данильцевым, И. В. Пискуновым, и независимо от них советским инженером В. Ф. Коваленко. Первые работы по теории отражательного К. были опубликованы советскими физиками Я. П. Терлецким в 1943 и С. Д. Гвоздовером в 1944.
Отражательные К. являются самым массовым типом приборов СВЧ. Они выпускаются для работы в дециметровом, сантиметровом и миллиметровом диапазонах волн, имеют выходную мощность от 5 мвт до 5 вт, диапазон механической перестройки частоты до 10% (у К. со съёмной частью ОР — несколько десятков процентов), диапазон электронной настройки обычно менее 1%, кпд около 1%. Отражательные К. применяются в качестве гетеродина супергетеродинного радиоприёмника, как задающий генератор радиопередатчиков, как генератор малой мощности в радиолокации, радионавигации, измерительной технике и т.д.
Лит.: Коваленко В. Ф., Введение в электронику сверхвысоких частот, 2 изд., М., 1955; Лебедев И. В., Техника и приборы СВЧ, 2 изд., т. 2, М., 1972; Гайдук В. И., Палатов К. И., Петров Д. М., Физические основы электроники сверхвысоких частот, М., 1971; Microwave Tube DATA Book, 28 ed., [N. J.], 1972.
В. Ф. Коваленко.

Рис. 1. Схемы конструкции пролётных клистронов: а — усилительного, б — генераторного: 1 — катод; 2 — фокусирующий цилиндр; 3 — электронный поток; 4 — входной объёмный резонатор; 5 — отверстие для ввода энергии сверхвысоких частот; 6 — зазор объёмного резонатора; 7 — пространство дрейфа; 8 — выходной объёмный резонатор; 9 — отверстие для вывода энергии сверхвысоких частот; 10 — коллектор, принимающий электронный поток; 11 — промежуточные объёмные резонаторы; 12 — источник постоянного анодного напряжения; 13 — источник напряжения подогрева катода; 14 — первый объёмный резонатор; 15 — щель связи, через которую часть энергии сверхвысоких частот проходит из второго резонатора в первый; 16 — второй объёмный резонатор.

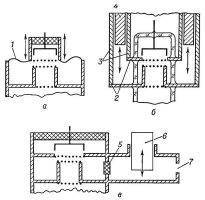
Рис. 4. Способы механической перестройки частоты отражательного клистрона: а — прогибом мембраны, б — перемещением поршня съёмной части объёмного резонатора, в — перемещением штыря объёмного резонатора, находящегося вне вакуума; 1 — мембрана, прогибом которой меняют зазор объёмного резонатора (увеличение зазора увеличивает частоту колебаний); 2 — края металлических дисков клистрона, к которым присоединяют съёмную часть объёмного резонатора; 3 — съёмная часть объёмного резонатора; 4 — поршень объёмного резонатора (при опускании поршня длина объёмного резонатора уменьшается и частота генерируемых колебаний увеличивается); 5 — керамическое вакуумноплотное окно связи между объёмными резонаторами; 6 — штырь (подъём штыря увеличивает зазор объёмного резонатора и частоту колебаний); 7 — отверстие для вывода энергии сверхвысоких частот.

Рис. 2. Схема конструкции отражательного клистрона: 1 — катод; 2 — фокусирующий цилиндр; 3 — электронный поток; 4 — ускоряющая сетка; 5 — объёмный резонатор; 6 — зазор объёмного резонатора; 7 — отражатель; 8 — вторая сетка резонатора; 9 — первая сетка резонатора; 10 — вакуумноплотное керамическое окно вывода энергии сверхвысоких частот из объёмного резонатора; 11 — источник напряжения резонатора клистрона; 12 — источник напряжения подогрева катода; 13 — источник напряжения отражателя.

Рис. 3. Зависимость частоты и выходной мощности отражательного клистрона от напряжения на отражателе: А — ширина зоны генерации; Б — ширина зоны генерации по уровню половинной мощности; f1 — частота колебаний в центре зоны; Df — отклонение частоты от f1; В — диапазон электронной настройки по уровню половинной мощности.