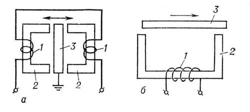
Индуктивный датчик, измерительный преобразователь угла поворота или перемещения в изменение индуктивности. И. д. представляет собой катушку индуктивности с магнитопроводом, подвижный элемент которого (якорь) перемещается под воздействием измеряемой величины. Вследствие изменения воздушного зазора в магнитопроводе меняется его магнитное сопротивление и, следовательно, индуктивность катушки. Для измерений катушку И. д. включают в дифференциальную или мостовую измерительную схему переменного тока, у которой указывающий элемент проградуирован в единицах измеряемой величины. Наиболее часто применяют И. д. с переменным зазором (а) и переменной площадью зазора (б). Первые используются для измерений малых перемещений (от долей мкм до 3—5 мм); вторые — для перемещений от 0,5 до 15 мм. Для измерения перемещений в маломощных устройствах, например в стрелочных измерит приборах, применяют И. д., катушки которых питаются от источника тока высокой частоты (5—50 Мгц) либо служат обмотками высокочастотных колебательных контуров.
Лит.: Туричин А. М., Электрические измерения неэлектрических величин, 4 изд., М.—Л., 1966.

Схема конструкции индуктивного датчика: а — с переменным воздушным зазором; б — с переменной площадью воздушного зазора: 1 — катушка индуктивности; 2 — сердечник; 3 — якорь.