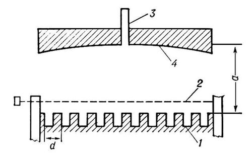
Схема конструкции оротрона: 1 — зеркало с периодической структурой; 2 — электронный поток; 3 — радиоволновод; 4 — зеркало; а — расстояние между зеркалами; d — период структуры.


 

Оглавление