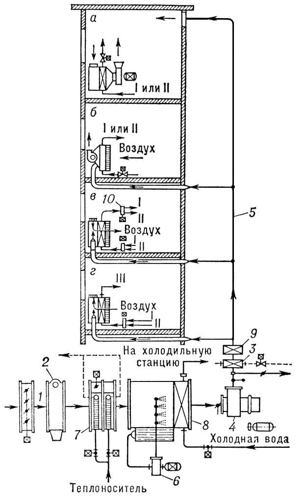
Рис. 2. Схема центральной одноканальной водовоздушной системы кондиционирования воздуха: а — с вентиляторным кондиционером-доводчиком, работающим на рециркуляционном воздухе и питаемым теплом и холодом от двухтрубной системы; б — с вентиляторным кондиционером-доводчиком, работающим на смеси кондиционированного наружного и рециркулируемого воздуха; в — с эжекционным кондиционером-доводчиком, питаемым теплом и холодом от четырёхтрубной системы; г — с эжекционным кондиционером-доводчиком, питаемым теплом и холодом от трёхтрубной системы; 1 — канал наружного воздуха; 2 — воздушный фильтр; 3 — калориферы второго подогрева; 4 — вентиляционный агрегат для перемещения кондиционированного воздуха; 5 — канал кондиционированного воздуха; 6 — насос, обслуживающий форсуночную камеру; 7 — калорифер первого подогрева; 8 — орошаемый поверхностный воздухоохладитель; 9 — шумоглушитель; 10 — трёхходовой автоматический клапан; I — теплопровод; II — холодопровод; III — общий обратный трубопровод. (Холодильная установка, приборы автоматического регулирования, дистанционного контроля и управления не показаны.)


 

Оглавление