Воздушное отопление, система отопления помещений горячим воздухом. В. о. включает: воздухоподогреватели, в которых воздух может нагреваться горячей водой, паром (в калориферах), теплом, выделяющимся от сгорания различных видов топлива (в огне воздухоподогревателях), а также электричеством (в электровоздухоподогревателях); воздуховоды, подводящие воздух в отапливаемые помещения; воздухоподающие и воздухозаборные решётки, через которые воздух подаётся в отапливаемые помещения и забирается для подачи к воздухоподогревателю; запорно-регулирующие клапаны в воздуховодах. При расположении воздухоподогревателя непосредственно в отапливаемом помещении воздуховоды, решётки и клапаны могут не устраиваться.
Различают В. о. рециркуляционное, при котором весь подаваемый к воздухоподогревателю воздух забирается из отапливаемого им помещения, и совмещенное с вентиляцией (рис. 1), когда подача воздуха осуществляется частично из отапливаемого помещения, а частично снаружи, причём соотношение объёмов рециркуляционного и наружного воздуха может регулироваться в широких пределах. Устраиваются также системы В. о., совмещенные с вентиляцией, работающие только на наружном воздухе (без рециркуляции и рециркуляционных каналов), их иногда называют прямоточными. Такие системы применяются, например, в жилых зданиях, где одним воздухоподогревателем обслуживаются несколько квартир (в данном случае устройство рециркуляции привело бы к нежелательному поступлению воздуха из одной квартиры в другую). От рециркуляции отказываются также при устройстве В. о. в производственных помещениях, технологический процесс в которых сопровождается выделением вредных газов или пыли. Перемещение воздуха в системах В. о. (как с рециркуляцией, так и в совмещенных с вентиляцией) может быть естественное — за счёт разности температур и плотности воздуха до воздухоподогревателя и после него, а также с механическим побуждением. В последнем случае устанавливается электрический вентилятор.
Основное преимущество В. о. по сравнению с другими видами центрального отопления — уменьшенный расход металла благодаря тому, что для устройства В. о. не применяются отопительные приборы и трубы, как, например, при водяном отоплении или паровом отоплении. При совмещении В. о. с вентиляцией одновременно решается вопрос воздухообмена в помещениях, а иногда, при предварительной обработке подаваемого в помещение воздуха (увлажнение, охлаждение, осушка и пр.), и кондиционирования воздуха. В промышленных цехах, залах общественных зданий, а также в зданиях с большим количеством комнат (в которых строительные конструкции позволяют использовать под каналы имеющиеся пустоты) устройство В. о. может быть значительно проще, чем др. видов центрального отопления. В СССР В. о. широко применяется в промышленных цехах, оно осуществляется обычно с помощью агрегатов, устанавливаемых в отапливаемых помещениях (рис. 2). Теплопроизводительность агрегатов В. о. для промышленных цехов — от 5,8—11,6 вт до 5,8 Мвт (от 5—10 до 500 тыс. ккал/ч).
В. о., совмещенное с вентиляцией (без рециркуляции), начали применять также в школах и в жилых домах высотой 4—5 и более этажей. В США и некоторых других странах В. о. используется для одноквартирных жилых домов.
Лит.: Отопление и вентиляция, 2 изд., ч. 1, М., 1965.
И. Ф. Ливчак.

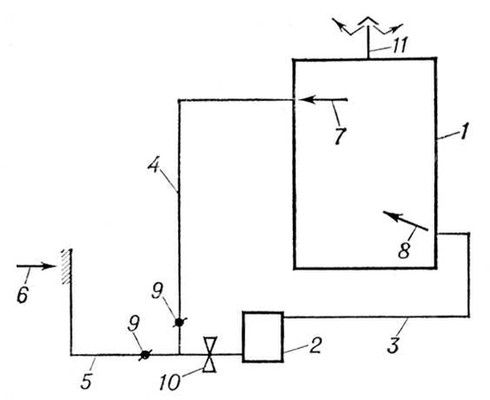
Рис. 1. Схема воздушного отопления, совмещенного с вентиляцией: 1 — отапливаемое помещение; 2 — воздухоподогреватель; 3 — воздуховод, подающий горячий воздух в отапливаемое помещение; 4 — воздуховод, подающий рециркуляционный воздух к воздухоподогревателю; 5 — воздуховод, подающий наружный воздух к воздухоподогревателю; 6 — воздухозаборная решётка наружного воздуха; 7 — воздухозаборная решётка рециркуляционного воздуха; 8 — воздухоподающая решётка; 9 — дроссели клапана; 10 — вентилятор; 11 — вытяжная вентиляция.

Рис. 2. Агрегаты воздушного отопления: а — устанавливаемые на полу; б — укрепляемые на строительных конструкциях (колоннах, стенах и т. п.); 1 — вентилятор; 2 — воздухоподогреватель (калорифер); 3 — всасывающее отверстие; 4 — нагнетательное отверстие.