Ванная печь нагревательная, печь для нагрева материалов в жидкой среде. В. п. применяются в термических цехах для нагрева металлических деталей под закалку, отпуск, нормализацию, обжиг, цианирование, цементацию, а также для патентирования проволоки и ленты.
Наиболее употребительные среды: для нагрева от 700 до 1300°С — хлористые и углекислые соли, от 160 до 500°С — азотнокислые соли, до 250°С — масла; применяют также расплавленные металлы (свинец, сплавы свинца с оловом и силумин).
Преимуществом нагрева в жидких средах по сравнению с нагревом в обычных печах являются быстрота и равномерность нагрева, отсутствие окисления поверхности деталей.
В. п. подразделяются на пламенные и электрические. Пламенная В. п. (рис. 1) имеет тигель из жароупорной стали с толщиной стенки 15—30 мм. Обогревается тигель пламенем от форсунки или горелки.
Электрические В. п. бывают двух типов — с генерацией тепла в нагревательных элементах (например, проволочного или ленточного типа), расположенных вне ванны (В. п. с внешним обогревом тигля), и с генерацией тепла в самой жидкой среде путём подвода тока с помощью электродов (В. п. с внутренним обогревом). Встречаются также В. п. с внутренним обогревом трубчатыми нагревательными элементами, располагаемыми внутри футерованного тигля. Электрические В. п. с внешним обогревом по конструкции (кроме устройств для обогрева тигля) аналогичны пламенным В. п.
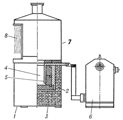
Наиболее широкое распространение в промышленности получили одно- и трёхфазные электродно-соляные В. п. (рис. 2), в которых нагревателем является расплавленная соль, загружаемая в рабочую камеру (круглого, прямоугольного или шестиугольного сечения), выложенную из фасонного шамотного кирпича, или в тигель из жароупорной стали. Электрический ток напряжением 6—24 в через массивные стальные электроды подводится непосредственно к соли. Наиболее совершенны электродные В. п. с опущенными электродами. Электрический ток, проходя через соль, вызывает энергичное перемешивание расплавленной соли и обеспечивает равномерность температуры ванны. Электродные В. п. применяются для нагрева до температуры от 40 до 1300°С. Мощность электродных печей 20—100 квт, производительность 30—200 кг/ч.
Лит.: Рустем С. Л., Оборудование и проектирование термических цехов, М., 1962; Крылов П. А., Электрические соляные печи и ванны, М. — Л., 1962.
В. А. Морозов.

Рис. 1. Пламенная ванная печь: 1 — изоляционный кирпич; 2 — камера горения; 3 — огнеупорная набивка; 4 — форсунка или горелка; 5 — дымовой канал; 6 — отверстие для стока жидкости в случае прогара тигля.

Рис. 2. Электродно-соляная ванная печь: 1 — металлический каркас; 2 — предохранительный кожух; 3 — теплоизоляционный кирпич; 4 — рабочее пространство; 5 — стальные плоские электроды; 6 — трансформатор; 7 — колпак; 8 — цепная занавеска для защиты персонала от брызг.