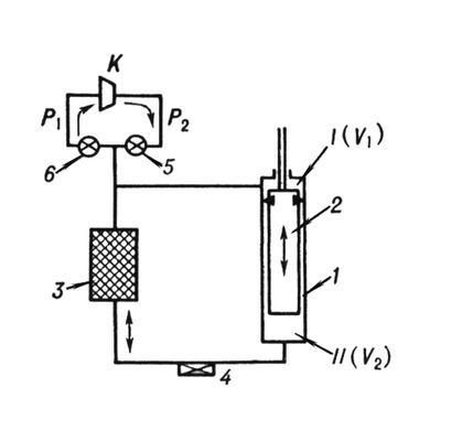
Холодильно-газовые машины, установки для получения низкотемпературного холода (главным образом в интервале температур от 12 до 150 К) путём расширения сжатого газа. Характерная особенность Х.-г. м. заключается в том, что применяемое рабочее тело (гелий, водород, неон, азот или воздух) совершает весь холодильный цикл, оставаясь неизменно в газовой фазе. Как правило, Х.-г. м. представляет собой совокупность нескольких агрегатов (рис. 1). Рабочее тело, сжатое в компрессоре, проходит через водяной или воздушный холодильник, где отводится теплота сжатия, и после предварительного охлаждения в теплообменнике-регенераторе поступает в расширительное устройство. Полученный после расширения холодный газ охлаждает в камере объект и либо через теплообменник-регенератор возвращается в компрессор на повторное сжатие (замкнутый цикл), либо выбрасывается в атмосферу (разомкнутый цикл). Вид расширительного устройства определяется выбранным способом расширения сжатого газа. В Х.-г. м. наиболее часто используются холодильные циклы, основанные на: дросселировании сжатого газа через суженное отверстие (Джоуля — Томсона эффект); расширении сжатого газа в детандере с производством внешней работы; расширении газа из постоянного объёма без совершения внешней работы. Цикл с дросселированием является самым простым, но термодинамически малоэффективным и поэтому применяется только для очень малых Х.-г. м. (т. н. микроохладителей). Благодаря высокой эффективности наибольшее распространение получили Х.-г. м. с детандерами, а среди них установки типа «Филипс», которые обычно представляют собой комбинацию в одном блоке компрессора, теплообменника-регенератора и детандера. Работают по обратному холодильному циклу Стирлинга, состоящему из двух изотерм и двух изохор. По теоретической эффективности этот цикл равноценен Карно циклу. Х.-г. м. с детандерами строятся на холодопроизводительность от нескольких вт (при 12—15 К) до десятков квт (при 77 К). Для Х.-г. м. небольшой производительности наряду с детандерными циклами применяется также цикл, предложенный в 1959 Джиффордом и Мак-Магоном (т. н. тепловой насос), где использовался эффект охлаждения при расширении без совершения внешней работы. Основной элемент машины (рис. 2) — пластмассовый поршень-вытеснитель, перемещающийся в тонкостенном цилиндре с объёмами V1 (тёплый) и V2 (холодный), которые соединены через высокоэффективный регенератор с насадкой из тонкой металлической сетки. Давление газа в обоих объёмах практически одинаково, и при перемещении поршня работа не совершается. Заполнение системы сжатым газом начинается при V1 = 0. При движении поршня вверх вошедший газ охлаждается в регенераторе, расширяется и охлаждается в объёме V1, отводя при этом теплоту от объекта охлаждения. При обратном движении поршня газ подогревается в регенераторе и покидает систему при температуре, превышающей температуру поступившего из компрессора газа. Разность энтальпий входящего и выходящего потоков газа определяет холодопроизводительность цикла. Энергия, отнятая от охлаждаемого объекта, передаётся в окружающую среду в виде теплоты. Термодинамическая эффективность такого цикла ниже, чем у циклов с детандером. Однако Х.-г. м., работающие по данному циклу, компактны, просты по конструкции, легко могут быть выполнены в виде многоступенчатой системы, что позволяет получить весьма низкие температуры (80—100 К при одной ступени и 14—20 К при трёх).
Х.-г. м. применяются для охлаждения приёмников излучения, квантовых усилителей (мазеров) и т.д., а также для сжижения газов.
Лит.: Архаров А. М., Низкотемпературные газовые машины, М., 1969; Техника низких температур, М., 1975.
А. Б. Фрадков.

Рис. 2. Схема холодильно-газовой машины Джиффорда — Мак-Магона: К — компрессор; 1 — цилиндр; 2 — поршень-вытеснитель; 3 — регенератор; 4 — охлаждаемый объект; 5 — впускной клапан; 6 — выпускной клапан.

Рис. 1. Принципиальная схема холодильно-газовой машины: К — компрессор; Х — холодильник; Т-Р — теплообменник-регенератор; РУ — расширительное устройство; Н — охлаждаемый объект.