Атомная электростанция (АЭС), электростанция, в которой атомная (ядерная) энергия преобразуется в электрическую. Генератором энергии на АЭС является атомный реактор (см. Ядерный реактор). Тепло, которое выделяется в реакторе в результате цепной реакции деления ядер некоторых тяжёлых элементов, затем так же, как и на обычных тепловых электростанциях (ТЭС), преобразуется в электроэнергию. В отличие от ТЭС, работающих на органическом топливе, АЭС работает на ядерном горючем (в основном 233U, 235U. 239Pu). При делении 1 г изотопов урана или плутония высвобождается 22 500 квт ч, что эквивалентно энергии, содержащейся в 2800 кг условного топлива. Установлено, что мировые энергетические ресурсы ядерного горючего (уран, плутоний и др.) существенно превышают энергоресурсы природных запасов органического топлива (нефть, уголь, природный газ и др.). Это открывает широкие перспективы для удовлетворения быстро растущих потребностей в топливе. Кроме того, необходимо учитывать всё увеличивающийся объём потребления угля и нефти для технологических целей мировой химической промышленности, которая становится серьёзным конкурентом тепловых электростанций. Несмотря на открытие новых месторождений органического топлива и совершенствование способов его добычи, в мире наблюдается тенденция к относит увеличению его стоимости. Это создаёт наиболее тяжёлые условия для стран, имеющих ограниченные запасы топлива органического происхождения. Очевидна необходимость быстрейшего развития атомной энергетики, которая уже занимает заметное место в энергетическом балансе ряда промышленных стран мира.
Первая в мире АЭС опытно-промышленного назначения (рис. 1) мощностью 5 Мвт была пущена в СССР 27 июня 1954 г. в г. Обнинске. До этого энергия атомного ядра использовалась преимущественно в военных целях. Пуск первой АЭС ознаменовал открытие нового направления в энергетике, получившего признание на 1-й Международной научно-технической конференции по мирному использованию атомной энергии (август 1955, Женева).
В 1958 была введена в эксплуатацию 1-я очередь Сибирской АЭС мощностью 100 Мвт (полная проектная мощность 600 Мвт). В том же году развернулось строительство Белоярской промышленной АЭС, а 26 апреля 1964 генератор 1-й очереди (блок мощностью 100 Мвт) выдал ток в Свердловскую энергосистему, 2-й блок мощностью 200 Мвт сдан в эксплуатацию в октябре 1967. Отличительная особенность Белоярской АЭС — перегрев пара (до получения нужных параметров) непосредственно в ядерном реакторе, что позволило применить на ней обычные современные турбины почти без всяких переделок.
В сентябре 1964 был пущен 1-й блок Нововоронежской АЭС мощностью 210 Мвт. Себестоимость 1 квт-ч электроэнергии (важнейший экономический показатель работы всякой электростанции) на этой АЭС систематически снижалась: она составляла 1,24 коп. в 1965, 1,22 коп. в 1966, 1,18 коп. в 1967, 0,94 коп. в 1968. Первый блок Нововоронежской АЭС был построен не только для промышленного пользования, но и как демонстрационный объект для показа возможностей и преимуществ атомной энергетики, надёжности и безопасности работы АЭС. В ноябре 1965 в г. Мелекессе Ульяновской области вступила в строй АЭС с водо-водяным реактором «кипящего» типа мощностью 50 Мвт, реактор собран по одноконтурной схеме, облегчающей компоновку станции. В декабре 1969 был пущен второй блок Нововоронежской АЭС (350 Мвт).
За рубежом первая АЭС промышленного назначения мощностью 46 Мвт была введена в эксплуатацию в 1956 в Колдер-Холле (Англия).Через год вступила в строй АЭС мощностью 60 Мвт в Шиппингпорте (США).
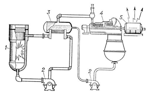
Принципиальная схема АЭС с ядерным реактором, имеющим водяное охлаждение, приведена на рис. 2. Тепло, выделяющееся в активной зоне реактора 1, отбирается водой (теплоносителем) 1-го контура, которая прокачивается через реактор циркуляционным насосом 2. Нагретая вода из реактора поступает в теплообменник (парогенератор) 3, где передаёт тепло, полученное в реакторе, воде 2-го контура. Вода 2-го контура испаряется в парогенераторе, и образующийся пар поступает в турбину 4.
Наиболее часто на АЭС применяются 4 типа реакторов на тепловых нейтронах: 1) водо-водяные с обычной водой в качестве замедлителя и теплоносителя; 2) графито-водные с водяным теплоносителем и графитовым замедлителем; 3) тяжеловодные с водяным теплоносителем и тяжёлой водой в качестве замедлителя; 4) графито-газовые с газовым теплоносителем и графитовым замедлителем.
Выбор преимущественно применяемого типа реактора определяется главным образом накопленным опытом в реакторостроении, а также наличием необходимого промышленного оборудования, сырьевых запасов и т. д. В СССР строят главным образом графито-водные и водо-водяные реакторы. На АЭС США наибольшее распространение получили водо-водяные реакторы. Графито-газовые реакторы применяются в Англии. В атомной энергетике Канады преобладают АЭС с тяжеловодными реакторами.
В зависимости от вида и агрегатного состояния теплоносителя создаётся тот или иной термодинамический цикл АЭС. Выбор верхней температурной границы термодинамического цикла определяется максимально допустимой температурой оболочек тепловыделяющих элементов (ТВЭЛ), содержащих ядерное горючее, допустимой температурой собственно ядерного горючего, а также свойствами тенлоносителя, принятого для данного типа реактора. На АЭС, тепловой реактор которой охлаждается водой, обычно пользуются низкотемпературными паровыми циклами. Реакторы с газовым теплоносителем позволяют применять относительно более экономичные циклы водяного пара с повышенными начальными давлением и температурой. Тепловая схема АЭС в этих двух случаях выполняется 2-контурной: в 1-м контуре циркулирует теплоноситель, 2-й контур — пароводяной. При реакторах с кипящим водяным или высокотемпературным газовым теплоносителем возможна одноконтурная тепловая АЭС. В кипящих реакторах вода кипит в активной зоне, полученная пароводяная смесь сепарируется, и насыщенный пар направляется или непосредственно в турбину, или предварительно возвращается в активную зону для перегрева (рис. 3). В высокотемпературных графито-газовых реакторах возможно применение обычного газотурбинного цикла. Реактор в этом случае выполняет роль камеры сгорания.
При работе реактора концентрация делящихся изотопов в ядерном топливе постепенно уменьшается, т. е. ТВЭЛы выгорают. Поэтому со временем их заменяют свежими. Ядерное горючее перезагружают с помощью механизмов и приспособлений с дистанционным управлением. Отработавшие ТВЭЛы переносят в бассейн выдержки, а затем направляют на переработку.
К реактору и обслуживающим его системам относятся: собственно реактор с биологической защитой, теплообменники, насосы или газодувные установки, осуществляющие циркуляцию теплоносителя; трубопроводы и арматура циркуляционного контура; устройства для перезагрузки ядерного горючего; системы спец. вентиляции, аварийного расхолаживания и др.
В зависимости от конструктивного исполнения реакторы имеют отличительные особенности: в корпусных реакторах ТВЭЛы и замедлитель расположены внутри корпуса, несущего полное давление теплоносителя; в канальных реакторах ТВЭЛы, охлаждаемые теплоносителем, устанавливаются в специальных трубах-каналах, пронизывающих замедлитель, заключённый в тонкостенный кожух. Такие реакторы применяются в СССР (Сибирская, Белоярская АЭС и др.).
Для предохранения персонала АЭС от радиационного облучения реактор окружают биологической защитой, основным материалом для которой служат бетон, вода, серпентиновый песок. Оборудование реакторного контура должно быть полностью герметичным. Предусматривается система контроля мест возможной утечки теплоносителя, принимают меры, чтобы появление неплотностей и разрывов контура не приводило к радиоактивным выбросам и загрязнению помещений АЭС и окружающей местности. Оборудование реакторного контура обычно устанавливают в герметичных боксах, которые отделены от остальных помещений АЭС биологической защитой и при работе реактора не обслуживаются. Радиоактивный воздух и небольшое количество паров теплоносителя, обусловленное наличием протечек из контура, удаляют из необслуживаемых помещений АЭС специальной системой вентиляции, в которой для исключения возможности загрязнения атмосферы предусмотрены очистные фильтры и газгольдеры выдержки. За выполнением правил радиационной безопасности персоналом АЭС следит служба дозиметрического контроля.
При авариях в системе охлаждения реактора для исключения перегрева и нарушения герметичности оболочек ТВЭЛов предусматривают быстрое (в течение несколько секунд) глушение ядерной реакции; аварийная система расхолаживания имеет автономные источники питания.
Наличие биологические защиты, систем специальной вентиляции и аварийного расхолаживания и службы дозиметрического контроля позволяет полностью обезопасить обслуживающий персонал АЭС от вредных воздействий радиоактивного облучения.
Оборудование машинного зала АЭС аналогично оборудованию машинного зала ТЭС. Отличительная особенность большинства АЭС — использование пара сравнительно низких параметров, насыщенного или слабоперегретого.
При этом для исключения эрозионного повреждения лопаток последних ступеней турбины частицами влаги, содержащейся в пару, в турбине устанавливают сепарирующие устройства. Иногда необходимо применение выносных сепараторов и промежуточных перегревателей пара. В связи с тем что теплоноситель и содержащиеся в нём примеси при прохождении через активную зону реактора активируются, конструктивное решение оборудования машинного зала и системы охлаждения конденсатора турбины одноконтурных АЭС должно полностью исключать возможность утечки теплоносителя. На двухконтурных АЭС с высокими параметрами пара подобные требования к оборудованию машинного зала не предъявляются.
В число специфичных требований к компоновке оборудования АЭС входят: минимально возможная протяжённость коммуникаций, связанных с радиоактивными средами, повышенная жёсткость фундаментов и несущих конструкций реактора, надёжная организация вентиляции помещений. На рис. показан разрез главного корпуса Белоярской АЭС с канальным графито-водным реактором. В реакторном зале размещены: реактор с биологической защитой, запасные ТВЭЛы и аппаратура контроля. АЭС скомпонована по блочному принципу реактор — турбина. В машинном зале расположены турбогецераторы и обслуживающие их системы. Между машинным и реакторным залами размещены вспомогательное оборудование и системы управления станцией.
Экономичность АЭС определяется её основными техническими показателями: единичная мощность реактора, кпд, энергонапряжённость активной зоны, глубина выгорания ядерного горючего, коэффициент использования установленной мощности АЭС за год. С ростом мощности АЭС удельные капиталовложения в неё (стоимость установленного квт) снижаются более резко, чем это имеет место для ТЭС. В этом главная причина стремления к сооружению крупных АЭС с большой единичной мощностью блоков. Для экономики АЭС характерно, что доля топливной составляющей в себестоимости вырабатываемой электроэнергии 30—40% (на ТЭС 60—70%). Поэтому крупные АЭС наиболее распространены в промышленно развитых районах с ограниченными запасами обычного топлива, а АЭС небольшой мощности — в труднодоступных или отдалённых районах, например АЭС в пос. Билибино (Якутская АССР) с электрической мощностью типового блока 12 Мвт. Часть тепловой мощности реактора этой АЭС (29 Мвт) расходуется на теплоснабжение. Наряду с выработкой электроэнергии АЭС используются также для опреснения морской воды. Так, Шевченковская АЭС (Казахская ССР) электрической мощностью 150 Мвт рассчитана на опреснение (методом дистилляции) за сутки до 150 000 т воды из Каспийского моря.
В большинстве промышленно развитых стран (СССР, США, Англия, Франция, Канада, ФРГ, Япония, ГДР и др.) по прогнозам мощность действующих и строящихся АЭС к 1980 будет доведена до десятков Гвт. По данным Международного атомного агентства ООН, опубликованным в 1967, установленная мощность всех АЭС в мире к 1980 достигнет 300 Гвт.
В Советском Союзе осуществляется широкая программа ввода в строй крупных энергетических блоков (до 1000 Мвт) с реакторами на тепловых нейтронах. В 1948—49 были начаты работы по реакторам на быстрых нейтронах для промышленных АЭС. Физические особенности таких реакторов позволяют осуществить расширенное воспроизводство ядерного горючего (коэффициент воспроизводства от 1,3 до 1,7), что даёт возможность использовать не только 235U, но и сырьевые материалы 238U и 232Th. Кроме того, реакторы на быстрых нейтронах не содержат замедлителя, имеют сравнительно малые размеры и большую загрузку. Этим и объясняется стремление к интенсивному развитию быстрых реакторов в СССР. Для исследований по быстрым реакторам были последовательно сооружены экспериментальные и опытные реакторы БР-1, БР-2, БР-З, БР-5, БФС. Полученный опыт обусловил переход от исследований модельных установок к проектированию и сооружению промышленных АЭС на быстрых нейтронах (БН-350) в г. Шевченко и (БН-600) на Белоярской АЭС. Ведутся исследования реакторов для мощных АЭС, например в г. Мелекессе построен опытный реактор БОР-60.
Крупные АЭС сооружаются и в ряде развивающихся стран (Индия, Пакистан и др.).
На 3-й Международной научно-технической конференции по мирному использованию атомной энергии (1964, Женева) было отмечено, что широкое освоение ядерной энергии стало ключевой проблемой для большинства стран. Состоявшаяся в Москве в августе 1968 7-я Мировая энергетическая конференция (МИРЭК-VII) подтвердила актуальность проблем выбора направления развития ядерной энергетики на следующем этапе (условно 1980—2000), когда АЭС станет одним из основных производителей электроэнергии.
Лит.: Некоторые вопросы ядерной энергетики. Сб. ст., под ред. М. А. Стыриковича, М., 1959; Канаев А. А., Атомные энергетические установки, Л., 1961; Калафати Д. Д., Термодинамические циклы атомных электростанций, М.—Л., 1963; 10 лет Первой в мире атомной электростанции СССР. [Сб. ст.], М., 1964; Советская атомная наука и техника. [Сборник], М., 1967; Петросьянц А. М., Атомная энергетика наших дней, М., 1968.
С. П. Кузнецов.

Рис. 2. Принципиальная схема АЭС: 1 — ядерный реактор; 2 — циркуляционный насос; 3 — теплообменник; 4 — турбина; 5 — генератор электрического тока.

Рис. 1. Атомная электростанция АН СССР. в г. Обнинске Калужской обл.

Расположение основных объектов станции: 1 — главный корпус; 2 — служебный корпус; 3 — химводоочистка; 4 — газгольдерная; 5 — спецводоочистка.

Рис. 3. Принципиальная тепловая схема АЭС с ядерным перегревом пара (2-й блок Белоярской АЭС): 1 — реактор; 2 — испарительный канал; 3 — пароперегревательный канал; 4 — барабан-сепаратор; 5 — циркуляционный насос; 6 — деаэратор; 7 — турбина; 8 — конденсатор; 9 — конденсатный насос; 10 — регенеративный подогреватель низкого давления; 11 — питательный насос; 12 — регенеративные подогреватели высокого давления; 13 — генератор электрического тока.

Разрез главного корпуса станции: 1 — реактор;2 — запасные ТВЭЛы; 3 — сепаратор; 4 — деаэратор; 5 — пульт управления; 6 — машинный зал; 7 — мостовой кран; 8 — главный циркуляционный насос; 9 — водоподогреватель; 10 — кран перегрузки ТВЭЛов; 11 — вытяжная вентиляция; 12 — воздухозаборняк приточной вентиляции.