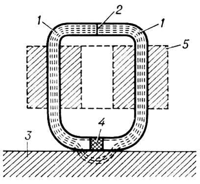
Магнитная головка, узел устройства для магнитной записи (стирания) информации или её воспроизведения. Основные элементы М. г. — сердечник (магнитопровод) для концентрации магнитного потока и одна или несколько обмоток для подвода или снятия электрических сигналов. Сердечники М. г. изготовляют из железоникелевых сплавов 79НМ, 79НМ-У и 80НХС, сплавов алюминия Ю-16 и Ю-16М (алфенол), из ферритов и пермаллоя. Со стороны, обращенной к носителю записи, сердечник имеет рабочий зазор — промежуток, заполняемый немагнитным материалом (например, фольгой из бериллиевой бронзы), обеспечивающий магнитную связь М. г. с носителем записи. В зависимости от положения рабочего зазора относительно носителя можно получить магнитную запись с продольным, поперечным и перпендикулярным намагничиванием. Сердечник М. г. может соприкасаться с носителем (контактная запись) или быть отделен от него воздушным промежутком (бесконтактная запись). На рисунке схематично изображена М. г. для наиболее употребительной контактной записи с продольным намагничиванием. В режиме записи электрические сигналы, подаваемые в обмотку 5, наводят в сердечнике 1 магнитный поток, который, пронизывая участок магнитной поверхности движущегося носителя записи 3 вблизи рабочего зазора 4, изменяет остаточную намагниченность этого участка в соответствии с записываемым сигналом. В режиме воспроизведения полезная эдс (сигнал) возникает в результате электромагнитной индукции, обусловленной относительным взаимным перемещением М. г. и носителя записи.
Существуют М. г., чувствительные к изменению полезного магнитного потока, эдс которых не зависит от скорости относительного перемещения головки вдоль дорожки записи; полупроводниковые М. г., использующие эффект Холла; М. г., действие которых основано на периодическом изменении магнитного сопротивления сердечника или рабочего зазора; М. г., основанные на взаимодействии магнитного поля сигналограммы с электронным лучом, и другие. М. г. широко применяют в устройствах магнитной записи и воспроизведения информации (диктофонах, магнитофонах, видеомагнитофонах, запоминающих устройствах, регистраторах измерительной информации и т.п.).
Лит.: Ефимов Е. Г., Магнитные головки, М., 1967; Каган Б. М., Адасько В. И., Пурэ Р. Р., Запоминающие устройства большой емкости, М., 1968.
Д. П. Брунштейн.

Схема магнитной индукционной головки: 1 — магнитопровод; 2 — дополнительный зазор; 3 — носитель записи; 4 — рабочий зазор; 5 — обмотка.