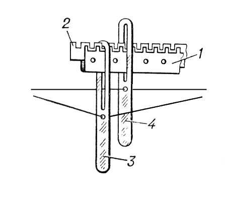
Ламельный прибор, основонаблюдатель, механизм, служащий для автоматического останова ткацкого станка при обрыве нити основы. Наиболее распространены Л. п. механического действия. Принцип работы таких Л. п. заключается в следующем. На каждую нить основы (рис.) надета металлическая пластинка — ламель. В ламели выше отверстия для нити имеется продолговатая прорезь, через которую проходят рейки: наружная неподвижная и внутренняя подвижная. Последняя совершает возвратно-поступательное движение внутри неподвижной рейки. При обрыве нити ламель падает и, попадая между зубьями реек, останавливает движение подвижной рейки, что вызывает выключение станка. Существуют также Л. п. электромагнитного действия, в которых при обрыве основной нити упавшая ламель замыкает цепь электрического тока и станок останавливается. Л. п. освобождает ткача от наблюдения за обрывностью основы, что важно при многостаночном обслуживании автоматических станков, и предотвращает образование брака в ткани.

Ламельный прибор: 1 — неподвижная зубчатая рейка; 2 — подвижная зубчатая рейка; 3 — ламель, упавшая между зубьями; 4 — ламель, висящая на нити основы.