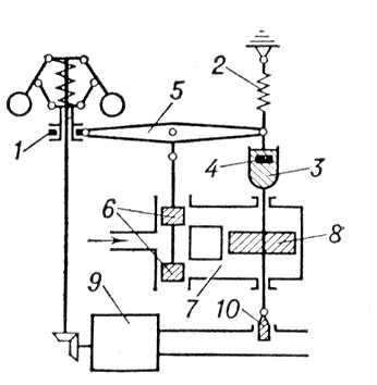
Изодром (от изо... и греч. drómos — бег), устройство, обеспечивающее гибкую обратную связь в регуляторах. И. представляет собой механизм, состоящий из демпфера, пружины и системы рычагов, либо дифференциальную цепь, включенную в обратную связь. Впервые название «изодромный» возникло применительно к центробежным регуляторам (рис.), где И. обеспечивает постоянство частоты вращения машины при разных нагрузках. При изменении нагрузки (например, увеличении) частота вращения двигателя 9 уменьшается, муфта 1 регулятора через золотник 6 приводит в действие сервомотор 7, поршень 8 которого опускается, а вместе с ним опускается цилиндр 3 демпфера. Под действием пружины 2 поршень 4 демпфера перемещается вверх относительно цилиндра 3, суммарная длина обратной связи увеличивается, вызывая стойкое смещение заслонки 10, регулирующей подачу топлива (пара) в двигатель, и частота вращения двигателя стабилизируется. Скорость перемещения поршня 4 относительно цилиндра 3 можно регулировать.
Изодромные регуляторы характеризуются временем И., в течение которого регулирующий орган под действием изодромной составляющей перемещается на 1% своего хода при предварительном пропорциональном перемещении его также на 1%. В изодромных регуляторах время И. можно устанавливать (настраивать) в пределах от 3 сек до 100 мин.
Лит.: Воронов А. А., Основы теории автоматического управления, ч. 1, М. — Л., 1965; Айзерман М. А., Теория автоматического регулирования, 3 изд., М., 1966.
К. А. Розанов.

Схема изодромного регулятора оборотов: 1 — муфта центробежного регулятора; 2 — пружина изодрома; 3 — цилиндр; 4 — поршень; 5 — рычаг; 6 — золотник; 7 — сервомотор; 8 — поршень сервомотора; 9 — двигатель; 10 — заслонка.