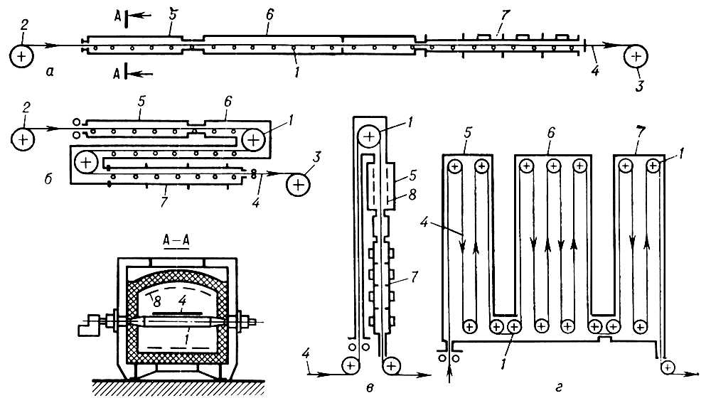
Основные схемы протяжных печей: а — горизонтальная; б — горизонтальная 3-этажная; в — вертикальная однобортная; г — вертикальная многобортная; 1 — опорный ролик; 2 и 3 — устройства для разматывания и сматывания рулонов; 4 — металлическая лента; 5 — камера нагрева; 6 — камера выдержки; 7 — камера охлаждения; 8 — нагреватели.


 

Оглавление