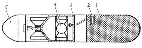
Рис. 4. Авиационная неконтактная донная мина: 1 — заряд взрывчатого вещества; 2 — электродетонатор; 3 — приборная камера; 4 — магнитный взрыватель, подвешенный на амортизаторах; 5 — парашютное отделение.


 

Оглавление