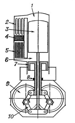
Рис. 1. Схема двигателя внешнего сгорания: 1 — горячая полость; 2 — нагреватель; 3 — поршень-вытеснитель; 4 — регенератор; 5 — охладитель; 6 — холодная полость; 7 — рабочий поршень; 8 — наружное уплотнение; 9 — зубчатые колеса, синхронизирующие работу поршней; 10 — ромбический механизм.


 

Оглавление