Гиратор (англ. gyrator от gyrate — вращаться по кругу; первоисточник: греч. evros — круг) направленный фазовращатель, СВЧ устройство, в котором изменения фаз электромагнитных волн, распространяющихся в противоположных направлениях, отличаются на p радиан (180°). Г. применяют в качестве отдельного элемента в др. СВЧ устройствах: вентилях, модуляторах, циркуляторах, переключателях и др. Принцип действия Г. основан на необратимых свойствах намагниченного феррита, вызывающих поворот плоскости поляризации, фазовый сдвиг и т.д. Простейший. Г. представляет собой отрезок круглого радиоволновода, в который помещен намагниченный (в магнитном поле заданной напряжённости) ферритовый стержень определенных размеров. Круглый радиоволновод сочленен с прямоугольным согласующими переходами.
Лит.: Гуревич А Г. Ферриты на. сверхвысоких частотах, М., 1960; Лакс Б., и Каттон К., Сверхвысокочастотные ферриты и ферримагнетики, пер. с англ., М., 1965.
Б. Е. Левин.

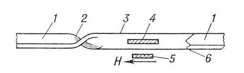
Схема гиратора: 1 — прямоугольный радиоволновод; 2 — согласующий переход в виде скрученной на 90° части прямоугольного радиоволновода; 3 — круглый радиоволновод; 4 — ферритовый стержень; 5 — магнит; 6 — согласующий переход в виде ступенчатого прямоугольного радиоволновода. Стрелкой указано направление силовых линий магнитного поля напряженностью Н.